授权公布号:CN215150003U
一种用于板材加工的涂胶装置
有效
申请
2020-12-30
申请公布
1970-01-01
授权
2021-12-14
预估到期
2030-12-30
| 申请号 | CN202023271031.0 |
| 申请日 | 2020-12-30 |
| 授权公布号 | CN215150003U |
| 授权公告日 | 2021-12-14 |
| 分类号 | B27G11/00 |
| 分类 | 木材或类似材料的加工或保存;一般钉钉机或钉U形钉机; |
| 申请人名称 | 班尔奇(上海)家居科技有限公司 |
| 申请人地址 | 上海市闵行区北翟路1444弄222号 |
专利法律状态
2021-12-14
授权
状态信息
授权
摘要
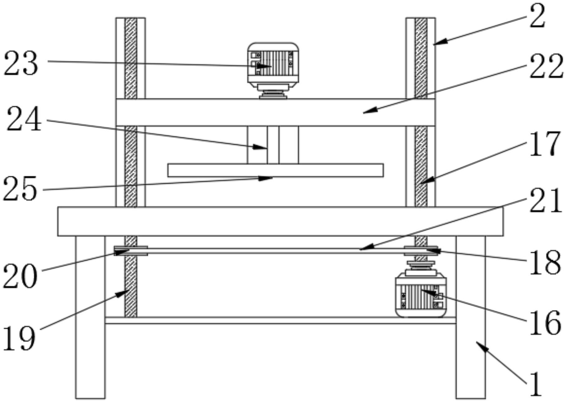
本实用新型涉及木材加工技术领域,且公开了一种用于板材加工的涂胶装置,包括装置底座,所述装置底座顶部的两侧均固定安装有支撑杆,所述装置底座内腔的底部固定安装有传动装置,所述传动装置包括一号电机,该用于板材加工的涂胶装置,通过一号电机转动带动一号转轴转动并带动一号主动轮转动,使用人员通过一号主动轮转动带动一号动力传送带转动并带动一号从动轮转动,再通过一号从动轮转动带动一号转动轴转动并带动对齿轮转动,使用人员通过对齿轮转动带动半齿轮转动并带动主齿轮转动,再通过主齿轮转动带动三号转动轴转动并带动凹型挡板转动,实现了板材的两面加工,提高了涂胶的效率。


