授权公布号:CN205897204U
一种便携式打火机
有效
申请
2016-07-18
申请公布
1970-01-01
授权
2017-01-18
预估到期
2026-07-18
| 申请号 | CN201620763227.6 |
| 申请日 | 2016-07-18 |
| 授权公布号 | CN205897204U |
| 授权公告日 | 2017-01-18 |
| 分类号 | F23Q2/16;F23Q2/48;F23Q2/40 |
| 分类 | 燃烧设备;燃烧方法; |
| 申请人名称 | 温州市恒星烟具眼镜有限公司 |
| 申请人地址 | 浙江省温州市瓯海经济开发区双堡西路3号4幢 |
专利法律状态
2017-01-18
授权
状态信息
授权
摘要
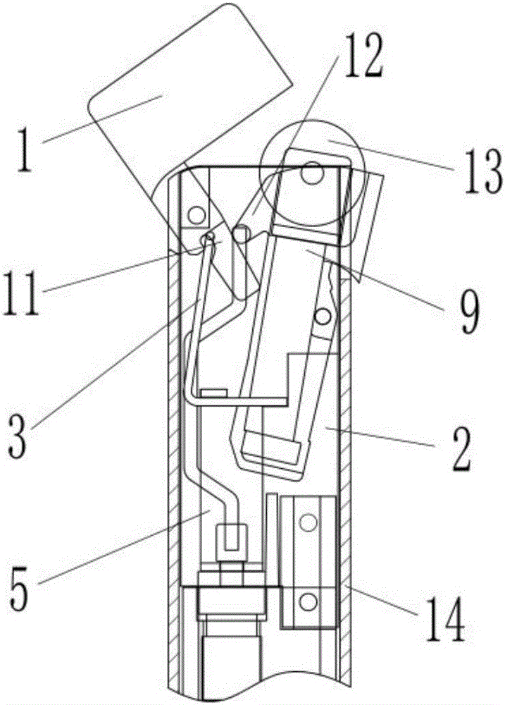
本实用新型公开了一种便携式打火机,包括头盖组件、中架、火石打火组件和燃料箱,所述中架固定设置在燃料箱上,所述头盖组件和火石打火组件均枢接在所述中架上,且所述头盖组件和火石打火组件可相抵扣合设置在所述中架上;打火时,打开所述头盖组件,所述头盖组件和火石打火组件向中架两侧张开呈钳口状,所述头盖组件联动开启燃料箱上的气阀,气体通过连接在所述气阀上的出气管在火石打火组件的火石座附近溢出,旋转设置在火石打火组件上的砂轮实现点火;关闭时,按压所述头盖组件,所述头盖组件和所述火石打火组件均复位。采用上述结构,本实用新型外形精巧、使用方便、操作安全、结构简单、成本低。


