授权公布号:CN215476032U
一种用于泡罩机与装盒机之间的泡罩板转移机构
有效
申请
2021-07-28
申请公布
1970-01-01
授权
2022-01-11
预估到期
2031-07-28
| 申请号 | CN202121744711.1 |
| 申请日 | 2021-07-28 |
| 授权公布号 | CN215476032U |
| 授权公告日 | 2022-01-11 |
| 分类号 | B65B35/50;B65B59/02;B65B59/00 |
| 分类 | 输送;包装;贮存;搬运薄的或细丝状材料; |
| 申请人名称 | 内蒙古利诚实业有限公司 |
| 申请人地址 | 内蒙古自治区呼和浩特市新城区机场路鸿盛高科技园区纬二路 |
专利法律状态
2022-01-11
授权
状态信息
授权
摘要
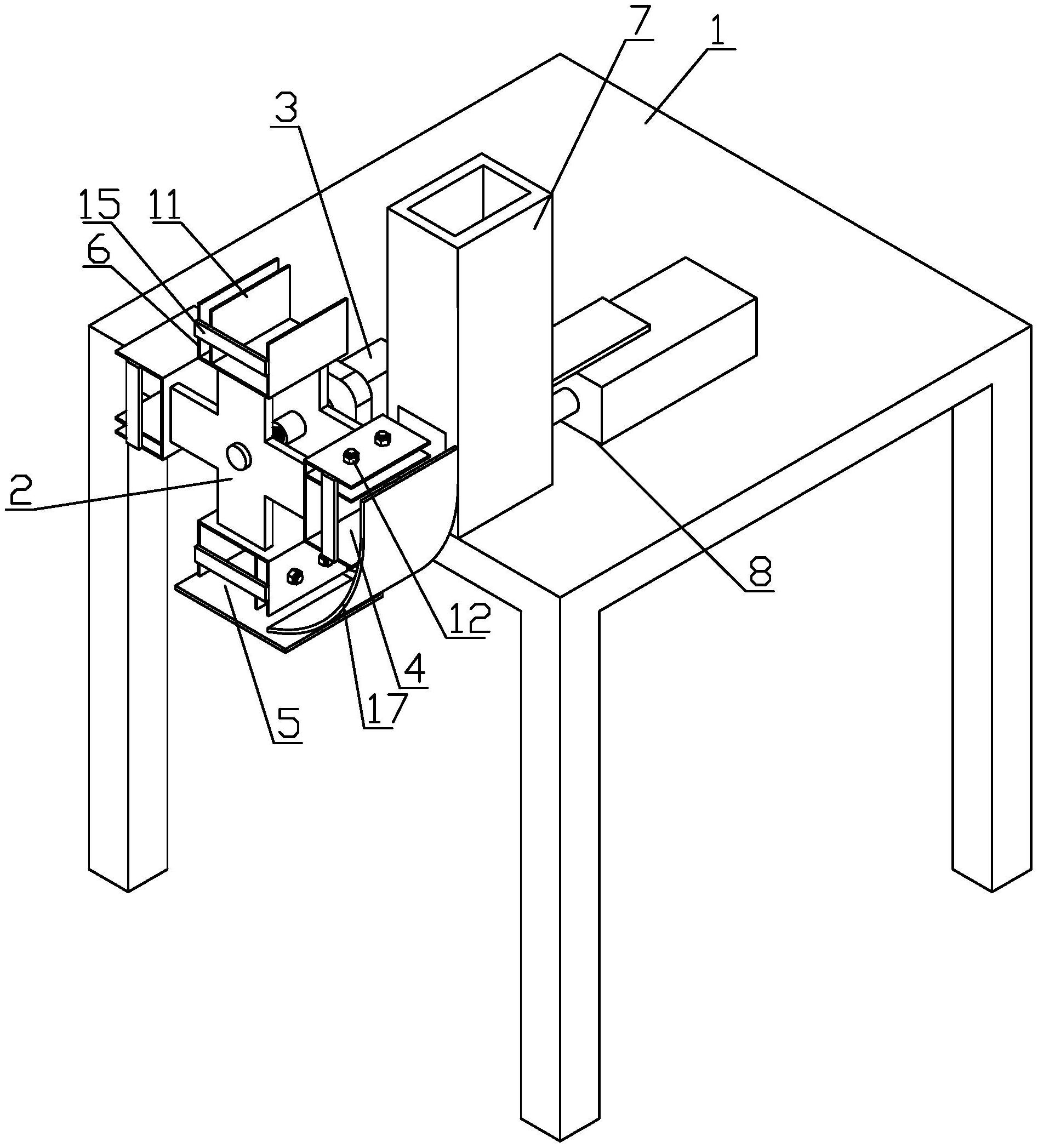
本实用新型公开了一种用于泡罩机与装盒机之间的泡罩板转移机构,其包括安装架,竖直转动设置在安装架上的旋转架,在旋转架的圆周上等间距设有若干沿其轴向布置的接料槽,在料筒的底端设置有将料筒内的泡罩板从出料口拨入到上料工位的接料槽内的上料机构;在与卸料工位相邻的安装架上安装有将卸料工位的接料槽内的泡罩板卸出的卸料机构。优点:通过料筒、旋转架、接料槽、上料机构和卸料机构之间的相互配合,可将单个的泡罩板以成摞的方式转运到装盒机的输入传送带上,方便快捷,效率高;并且,接料槽内设置了调整板,与可拆卸上料板相互配合,可以调整转移出的每螺泡罩板的数量,满足不同的生产需求,适用范围广。


