授权公布号:CN208160352U
一种多功能背包夹层板
有效
申请
2018-01-29
申请公布
1970-01-01
授权
2018-11-30
预估到期
2028-01-29
| 申请号 | CN201820145648.1 |
| 申请日 | 2018-01-29 |
| 授权公布号 | CN208160352U |
| 授权公告日 | 2018-11-30 |
| 分类号 | A45F3/04;A45C7/00;A45C13/02 |
| 分类 | 手携物品或旅行品; |
| 申请人名称 | 安徽齐心箱包有限公司 |
| 申请人地址 | 安徽省阜阳市颍泉区中市办锦绣路6号 |
专利法律状态
2018-11-30
授权
状态信息
授权
摘要
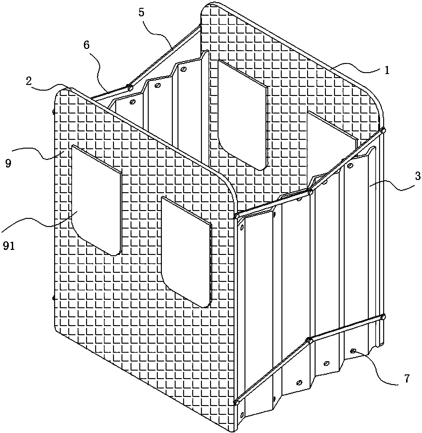
本实用新型公开了一种多功能背包夹层板。涉及多功能背包夹层板技术领域。包括第一直板、第二直板、分隔带;第一直板一侧面相对两侧边缘分别通过第一折叠结构与第二直板一侧面相对两侧边缘连接;两第一折叠结构通过第二折叠结构连接;第一直板一相对两端面分别铰接两第一撑杆;第二直板一相对两端面分别铰接两第二支撑杆;第一支撑杆与相对位置的第二支撑杆铰接;第一折叠机构一端面两侧边缘均布有若干通孔;分隔带形状为矩形状。本实用新型通过第一直板、第二直板、第一折叠机构、第二折叠机构以及第一支撑杆、第二支撑杆,便于拆卸、提高了书包内空间利用率,提高了背包夹层的利用效率。


