授权公布号:CN217429423U
一种防水高密封性硬箱
有效
申请
2022-03-25
申请公布
1970-01-01
授权
2022-09-16
预估到期
2032-03-25
| 申请号 | CN202220672365.9 |
| 申请日 | 2022-03-25 |
| 授权公布号 | CN217429423U |
| 授权公告日 | 2022-09-16 |
| 分类号 | A45C5/14;A45C13/00;A45C5/02 |
| 分类 | 手携物品或旅行品; |
| 申请人名称 | 浙江爱美德旅游用品股份有限公司 |
| 申请人地址 | 浙江省嘉兴市平湖市钟埭镇 |
专利法律状态
2022-09-16
授权
状态信息
授权
摘要
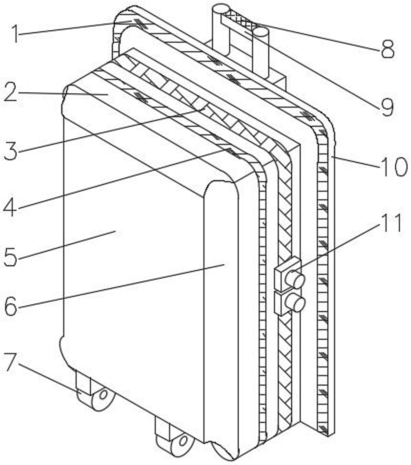
本实用新型公开了一种防水高密封性硬箱,包括箱体和缓冲板,所述箱体外侧可拆卸连接有固定布,所述固定布内侧可拆卸连接有魔术贴A,所述箱体表面可拆卸连接有魔术贴B,所述箱体一侧可拆卸连接有拉链,所述拉链一侧可拆卸连接有拉链头,所述箱体左侧顶端安装有连接布,且连接布远离箱体的一端安装有缓冲板,所述缓冲板右侧可拆卸连接有弹簧和泡沫层A,且弹簧位于泡沫层A上方,所述泡沫层A一侧可拆卸连接有气泡膜,所述箱体左侧可拆卸连接有泡沫层B。本实用新型通过安装的缓冲板、弹簧、泡沫层A、气泡膜和泡沫层B,当箱体受到碰撞时,降低碰撞产生的冲击力,减小碰撞对箱体内部的物品的影响,便于对箱体内部的物品进行保护。


