授权公布号:CN115091543B
一种PVC墙布加工用冷压打孔装置及其使用方法
有效
申请
2022-06-21
申请公布
2022-09-23
授权
2023-06-30
预估到期
2042-06-21
| 申请号 | CN202210705401.1 |
| 申请日 | 2022-06-21 |
| 申请公布号 | CN115091543A |
| 申请公布日 | 2022-09-23 |
| 授权公布号 | CN115091543B |
| 授权公告日 | 2023-06-30 |
| 分类号 | B26F1/02;B26D7/26;B26D7/02 |
| 分类 | 手动切割工具;切割;切断; |
| 申请人名称 | 浙江雅琪诺装饰材料有限公司 |
| 申请人地址 | 浙江省绍兴市柯桥区滨海工业区兴滨路 |
专利法律状态
2023-06-30
授权
状态信息
授权
2022-10-14
实质审查的生效
状态信息
实质审查的生效;IPC(主分类):B26F1/02;申请日:20220621
2022-09-23
公布
状态信息
公布
摘要
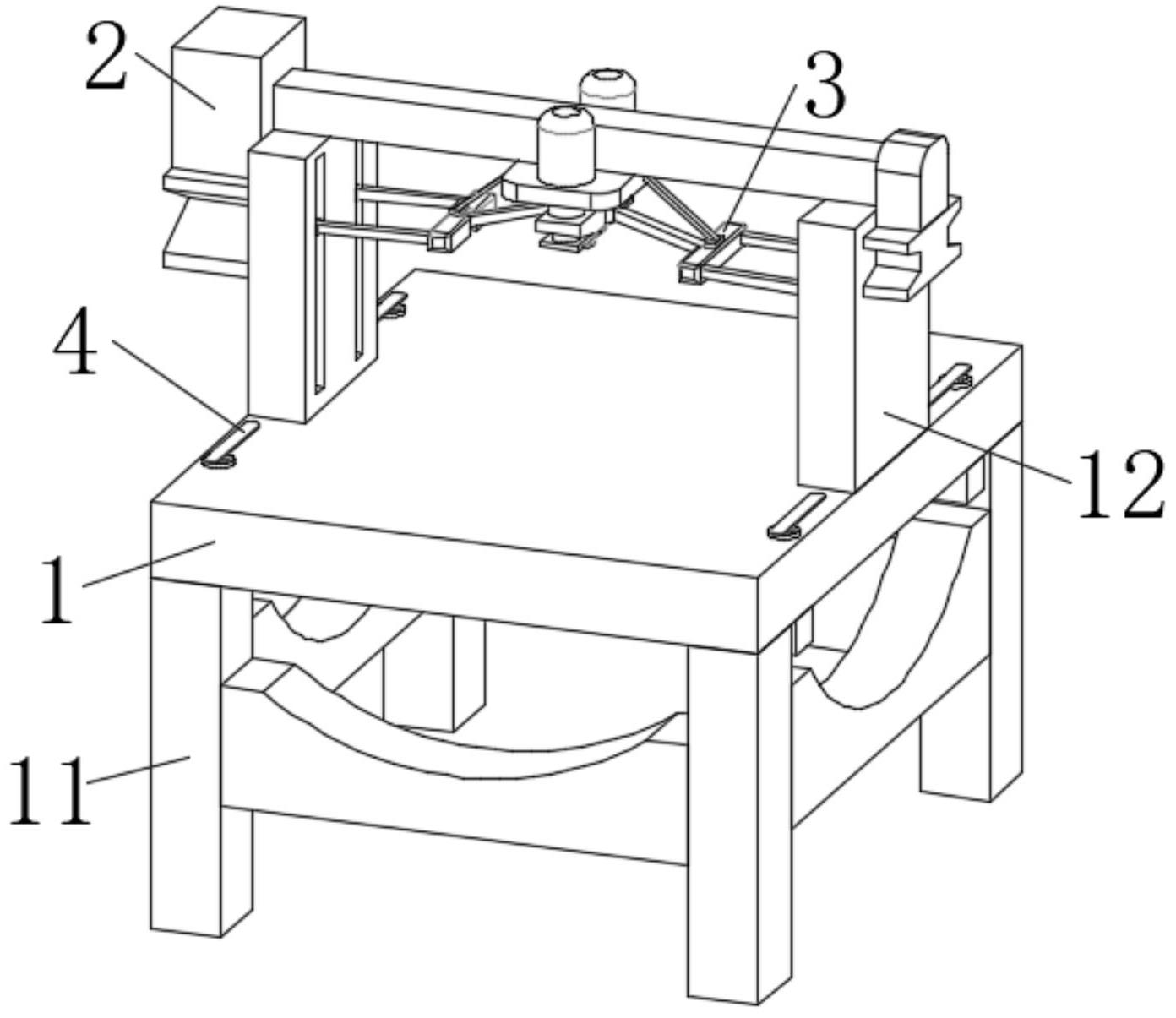
本发明公开了一种PVC墙布加工用冷压打孔装置,包括加工台、竖块和冷压打孔机构,所述竖块的一端设置有调节机构,所述调节机构包括驱动电机和转轴座,两组所述竖块的上端设置有固定块,所述驱动电机的一端活动安装有螺纹杆,所述螺纹杆的外侧设置有螺纹座。本发明能够根据需求对PVC墙布进行打孔,解决了不便于对打出不同间距的孔洞,不便于对不同要求PVC墙布进行打孔的问题,其次,能够防止冷压打孔机构在打孔过程中出现晃动,以防止PVC墙布上的孔出现偏差,能够使该装置的打孔精度得到保障,防止造成经济损失,方便继续对调节后的冷压打孔机构能够进行导向作用,防止出现冷压打孔机构在工作中发生晃动,提高了该装置的实用性和安全性。


