授权公布号:CN214699676U
快捷改质与高效动力系统用软管
有效
申请
2021-03-15
申请公布
1970-01-01
授权
2021-11-12
预估到期
2031-03-15
| 申请号 | CN202120533850.3 |
| 申请日 | 2021-03-15 |
| 授权公布号 | CN214699676U |
| 授权公告日 | 2021-11-12 |
| 分类号 | F16L33/20;F16L33/18;F16L11/10;F16L57/02 |
| 分类 | 工程元件或部件;为产生和保持机器或设备的有效运行的一般措施;一般绝热; |
| 申请人名称 | 上海三盛健康科技股份有限公司 |
| 申请人地址 | 上海市奉贤区金汇镇光泰路1107号 |
专利法律状态
2021-11-12
授权
状态信息
授权
摘要
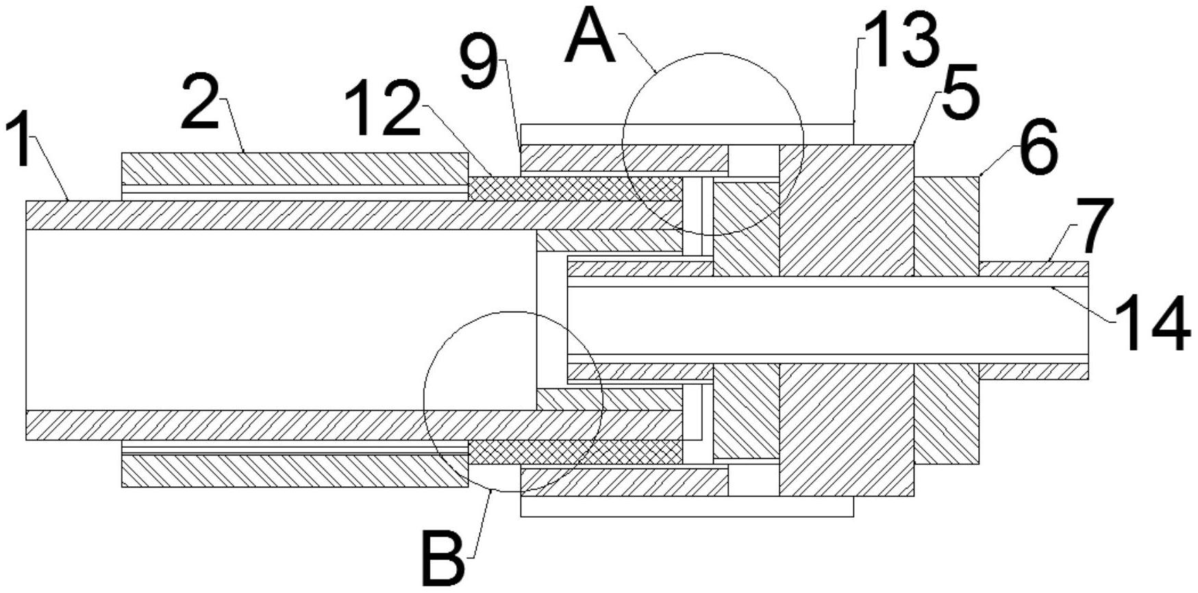
本实用新型公开了快捷改质与高效动力系统用软管,包括波纹管,所述波纹管上固定套接有橡胶套,所述橡胶套的内壁上固定套接有拉伸铜丝网套,所述波纹管上固定套接有固定铜丝网套,所述波纹管的内部固定套接有内螺纹圈,所述波纹管的末端安装有固定块,所述固定块的两侧对称安装有连接圈,所述连接圈的侧面安装有连接管,所述连接管的侧面开设有第三螺纹,所述连接管通过第三螺纹螺纹套接在内螺纹圈内。本实用新型软管的柔韧性更好,且软管连接时更加牢固稳定。


