授权公布号:CN212865104U
一种梳棉机盖板的清理装置
有效
申请
2020-08-12
申请公布
1970-01-01
授权
2021-04-02
预估到期
2030-08-12
| 申请号 | CN202021668135.2 |
| 申请日 | 2020-08-12 |
| 授权公布号 | CN212865104U |
| 授权公告日 | 2021-04-02 |
| 分类号 | D01G15/76;D01G15/82 |
| 分类 | 天然或人造的线或纤维;纺纱或纺丝; |
| 申请人名称 | 浙江中鼎纺织股份有限公司 |
| 申请人地址 | 浙江省嘉兴市桐乡市崇福镇工业区中山路388号 |
专利法律状态
2021-04-02
授权
状态信息
授权
摘要
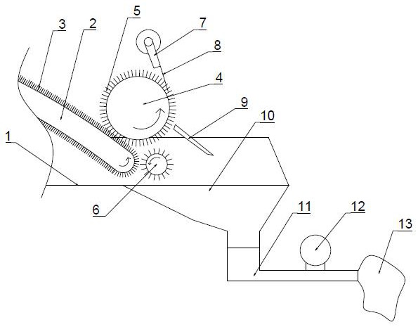
本实用新型涉及梳棉机技术领域,尤其是一种梳棉机盖板的清理装置,包括梳棉机机架及设置在梳棉机机架上的盖板,在盖板一端端部的上方设置有针布滚筒,针布滚筒的周向表面间隔阵列有钢针,在针布滚筒下方的梳棉机机架上设置有钢丝毛刷,在针布滚筒上方的梳棉机机架上设置有一块针板,针板上设置有一排清洁针,在钢丝毛刷和针布滚筒所对应位置下方的梳棉机机架上设置集尘腔,集尘腔的底部设置有集尘管道,集尘管道的端部设置有集尘袋。本实用新型所得到的一种梳棉机盖板的清理装置,其通过合理的结构设计,能对盖板上的盖板花及盖板针之间的短纤维进行彻底清理,清理效果好,而且设备运行稳定,使用寿命长。


