授权公布号:CN209451713U
一种纺织浆料混合装置
有效
申请
2019-01-02
申请公布
1970-01-01
授权
2019-10-01
预估到期
2029-01-02
| 申请号 | CN201920001651.0 |
| 申请日 | 2019-01-02 |
| 授权公布号 | CN209451713U |
| 授权公告日 | 2019-10-01 |
| 分类号 | B01F7/18;B01F7/04 |
| 分类 | 一般的物理或化学的方法或装置; |
| 申请人名称 | 众望布艺股份有限公司 |
| 申请人地址 | 浙江省杭州市余杭区崇贤街道水洪庙 |
专利法律状态
2019-10-01
授权
状态信息
授权
摘要
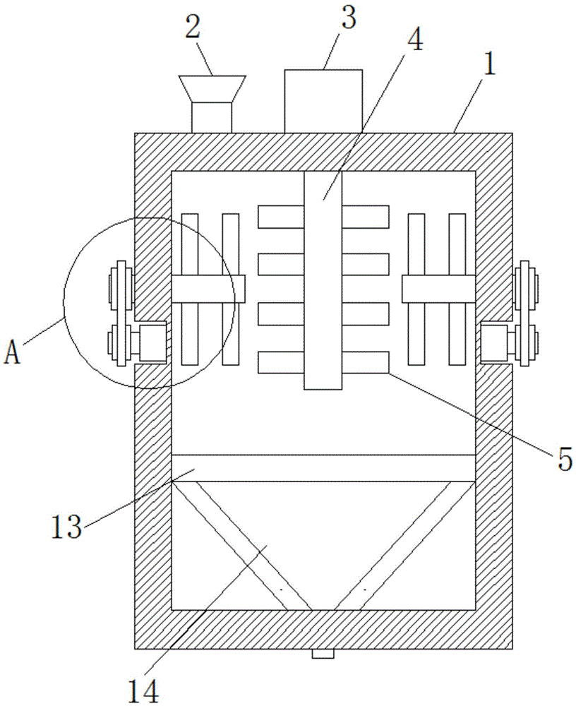
本实用新型公开了一种纺织浆料混合装置,包括混合桶,所述混合桶的顶部开设有进料斗,所述混合桶的顶部固定安装有第一电机,所述第一电机的输出轴延伸至混合桶内,并焊接有第一圆杆,所述第一圆杆的两侧均对称焊接有四个第一混合柱,所述混合桶的两侧均开设有矩形槽,两个矩形槽相互靠近的一侧均固定安装有第二电机,两个第二电机的输出轴上均焊接有第一链轮,两个第一链轮上均啮合有链条,所述混合桶的两侧均转动安装有第二圆杆,两个第二圆杆相互远离的一端均焊接有第二链轮,两个第二链轮分别通过两个链条与两个第一链轮传动连接。本实用新型便于纺织浆料混合均匀,提高生产质量,结构简单,使用方便。


