授权公布号:CN211922039U
一种斜纹面料生产用裁剪装置
有效
申请
2020-03-06
申请公布
1970-01-01
授权
2020-11-13
预估到期
2030-03-06
| 申请号 | CN202020262347.4 |
| 申请日 | 2020-03-06 |
| 授权公布号 | CN211922039U |
| 授权公告日 | 2020-11-13 |
| 分类号 | D06H7/00 |
| 分类 | 织物等的处理;洗涤;其他类不包括的柔性材料; |
| 申请人名称 | 众望布艺股份有限公司 |
| 申请人地址 | 浙江省杭州市余杭区崇贤街道水洪庙 |
专利法律状态
2020-11-13
授权
状态信息
授权
摘要
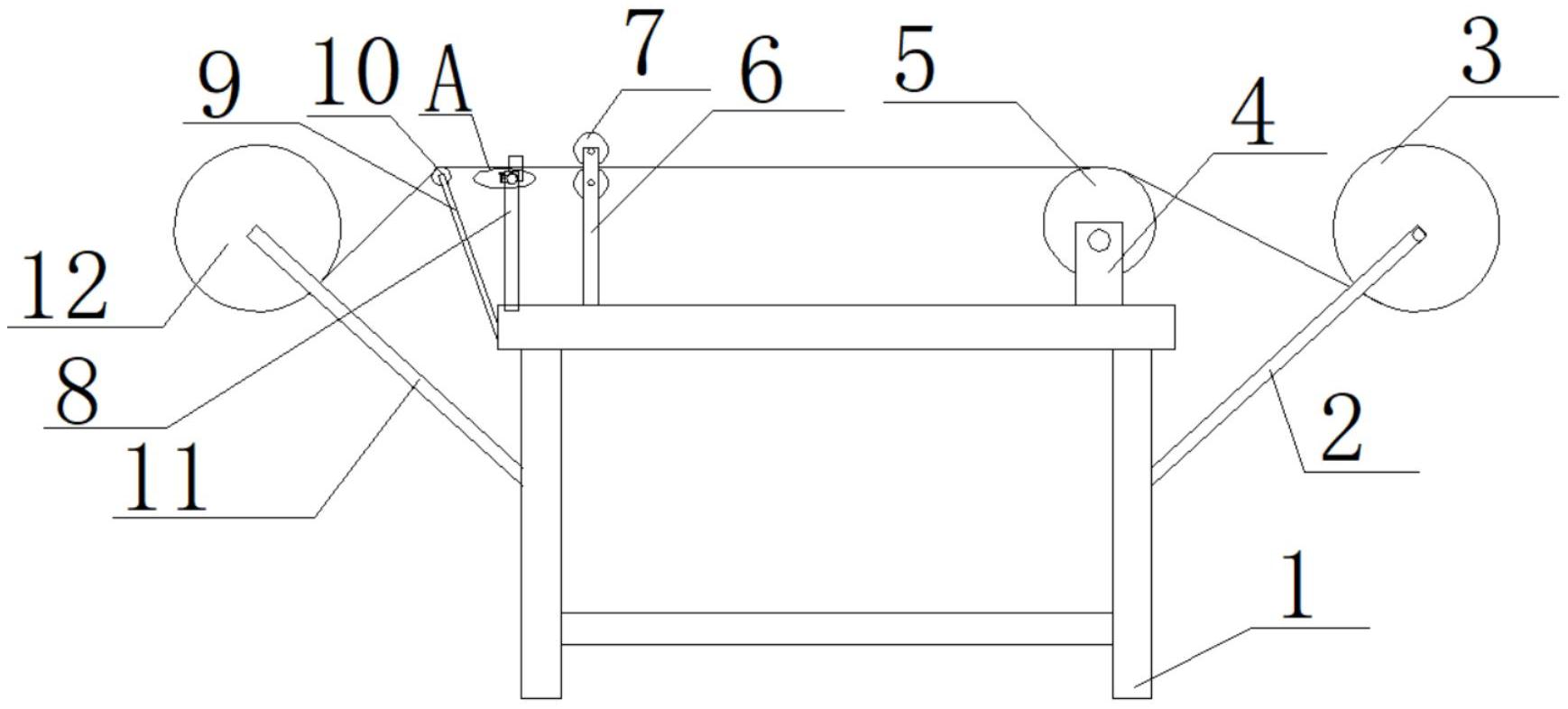
本实用新型属于斜纹面料生产用裁剪技术领域,尤其是一种斜纹面料生产用裁剪装置,包括工作台,所述工作台两侧均固定安装有第一支撑架的一端,第一支撑架为倾斜设置,两个第一支撑架的另一端转动安装有同一个第一转轮,工作台顶部一侧固定安装有两个第二支撑架,两个第二支撑架之间转动安装有同一个第二转轮,工作台的另一侧设置有裁剪机构,所述裁剪机构包括固定安装在工作台顶侧的两个第三支撑架,且两个第三支撑架之间转动安装有两个第三转轮。本实用新型在工作台上设置有可移动的刀片,随时调整位置,可以极大的提升工作效率。


