授权公布号:CN216942214U
一种具有透气抗菌效果的面料
有效
申请
2022-02-23
申请公布
1970-01-01
授权
2022-07-12
预估到期
2032-02-23
| 申请号 | CN202220374564.1 |
| 申请日 | 2022-02-23 |
| 授权公布号 | CN216942214U |
| 授权公告日 | 2022-07-12 |
| 分类号 | B32B33/00;B32B7/023;B32B27/32;B32B27/06;B32B9/02;B32B9/04;B32B23/02;B32B27/12;B32B23/10;B32B7/027;A41D31/02 |
| 分类 | 层状产品; |
| 申请人名称 | 众望布艺股份有限公司 |
| 申请人地址 | 浙江省杭州市余杭区余杭经济技术开发区泰极路3号二号楼A403室 |
专利法律状态
2022-07-12
授权
状态信息
授权
摘要
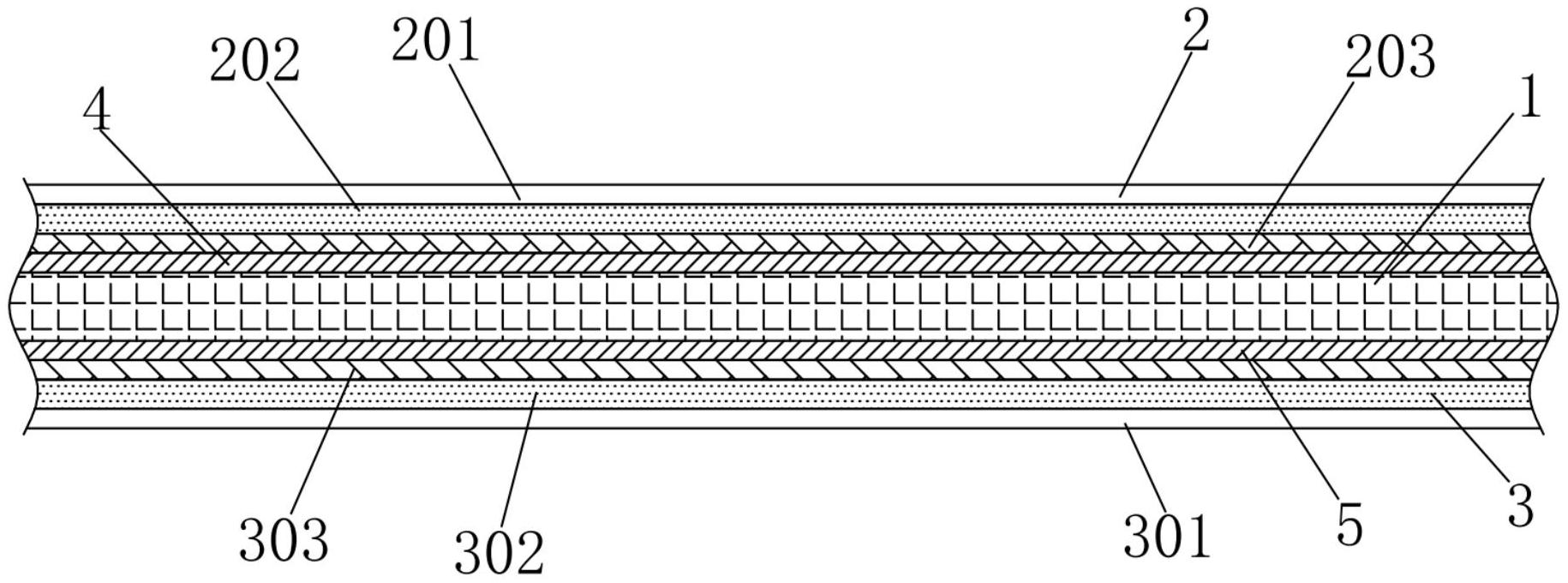
本实用新型公开了一种具有透气抗菌效果的面料,包括竹纤维层,所述竹纤维层的上方设置有外侧组件,所述外侧组件包括防紫外线层、防水透气层和防污涂层,所述防紫外线层、防水透气层和防污涂层位于竹纤维层的上方从上至下分布,所述防水透气层位于竹纤维层的上方,所述防水透气层的上表面喷涂有防紫外线层,所述防水透气层的下表面喷涂有防污涂层。该具有透气抗菌效果的面料,通过防静电涂层和防火涂层之间的配合,由纳米碳料,不接地时则借助于导电纤维微弱的电晕放电而消电,由高硅氧纤维,高硅氧纤维是高纯氧化硅非晶体连续纤维制成的防火涂层,连续耐温摄氏1000度,避免了面料在使用时存在抗静电能力和防火能力较差的问题。


