授权公布号:CN110670247B
一种窗帘车边装置及车边方法
有效
申请
2019-10-16
申请公布
2020-01-10
授权
2021-08-31
预估到期
2039-10-16
| 申请号 | CN201910984329.9 |
| 申请日 | 2019-10-16 |
| 申请公布号 | CN110670247A |
| 申请公布日 | 2020-01-10 |
| 授权公布号 | CN110670247B |
| 授权公告日 | 2021-08-31 |
| 分类号 | D05B1/18;D05B35/02;D05B35/00;D05B75/00 |
| 分类 | 缝纫;绣花;簇绒; |
| 申请人名称 | 佛山市摩力克家居布业有限公司 |
| 申请人地址 | 广东省佛山市禅城区五峰三路前街二号 |
专利法律状态
2021-08-31
授权
状态信息
授权
2020-02-11
实质审查的生效
状态信息
实质审查的生效
2020-01-10
公布
状态信息
公布
摘要
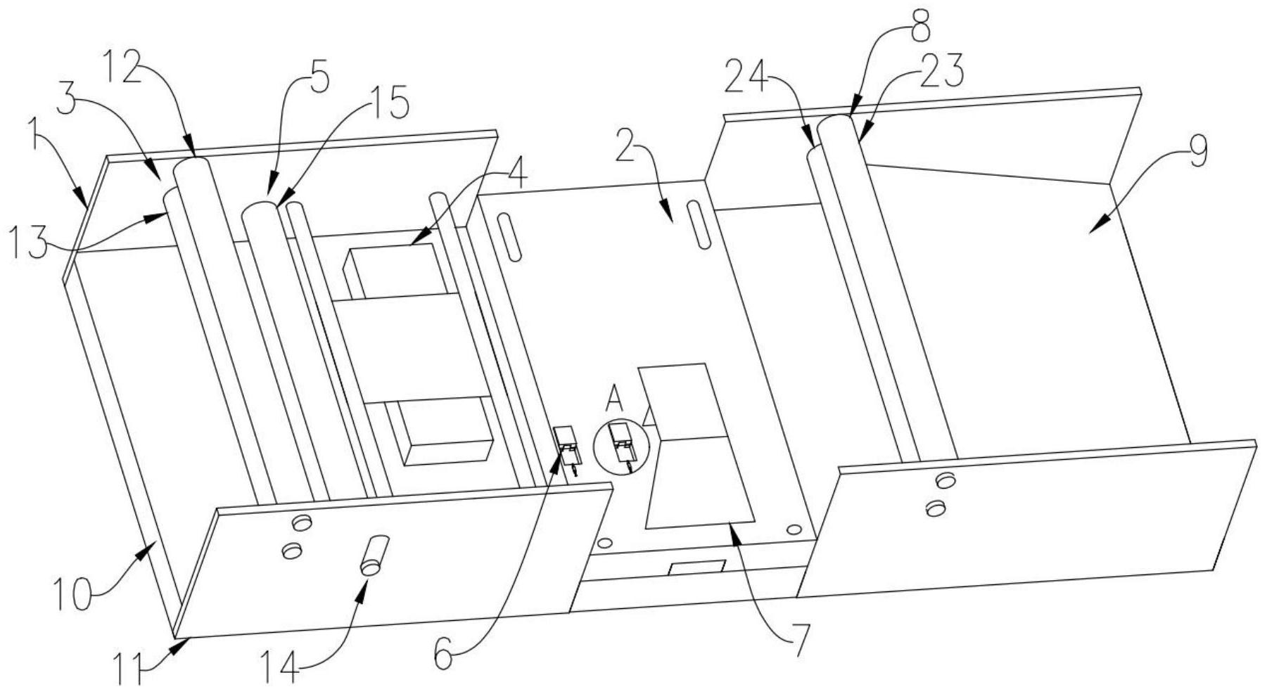
本发明公开了一种窗帘车边装置及车边方法,一种窗帘车边装置,包括机台、车边台、传送辊组、纠偏机、张紧装置、折边装置、缝纫机、收料辊组和下滑板,所述传送辊组、纠偏机、张紧装置、折边装置、缝纫机和收料辊组均设于机台上,所述车边台可滑动设于机台上,所述传送辊组设于机台上且靠近机台端部,所述张紧装置靠近传送辊组,所述纠偏机设于张紧装置和车边台之间,所述缝纫机设于车边台上且靠近车边台侧端,所述折边装置设于车边台山且靠近缝纫机设置,所述收料辊组设于车边台侧边且远离纠偏机设置,所述下滑板设于收料辊组侧方且设于车边台的对立侧。本发明属于窗帘加工技术领域,具体是指一种自动纠偏和折边的窗帘车边装置。


