授权公布号:CN208568752U
一种印花用打浆机的智能检测机构
有效
申请
2018-07-16
申请公布
1970-01-01
授权
2019-03-01
预估到期
2028-07-16
| 申请号 | CN201821121907.3 |
| 申请日 | 2018-07-16 |
| 授权公布号 | CN208568752U |
| 授权公告日 | 2019-03-01 |
| 分类号 | G01N33/18;G01D21/02;G05D23/20 |
| 分类 | 测量;测试; |
| 申请人名称 | 佛山市特耐家纺实业有限公司 |
| 申请人地址 | 广东省佛山市高明区荷城街道富湾工业区 |
专利法律状态
2019-03-01
授权
状态信息
授权
摘要
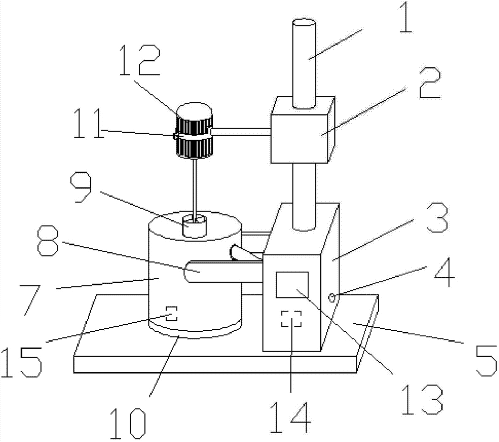
本实用新型提供了一种印花用打浆机的智能检测机构,包括机座、控制面板、控制中心、升降支杆、升降部件、固定架、电机、搅拌杆、打浆桶、温度感应器、加热板、支撑杆、软水机箱和进水口。所述的升降支杆安装在所述的软水机箱上方,所述的升降部件与升降支杆连接,所述的电机通过固定架与升降部件连接,所述的搅拌杆安装在电机的下方,所述的打浆桶设置在搅拌杆的下方,所述的打浆桶与支撑杆连接,所述的给水口设置在软水机箱的右面。本实用新型通过检测装置能够实时地监测水质的硬度和温度,及时地对水源进行软化和加温保温,保障了制作浆料用水的质量,也能保证印花用的浆料的质量。


