授权公布号:CN102677231B
一种色纺棉条的打样设备及其打样方法
有效
申请
2011-03-09
申请公布
2012-09-19
授权
1970-01-01
预估到期
2031-03-09
| 申请号 | CN201110056471.0 |
| 申请日 | 2011-03-09 |
| 申请公布号 | CN102677231A |
| 申请公布日 | 2012-09-19 |
| 授权公布号 | CN102677231B |
| 分类号 | D01G15/04;D01G15/26 |
| 分类 | 天然或人造的线或纤维;纺纱或纺丝; |
| 申请人名称 | 华孚时尚股份有限公司 |
| 申请人地址 | 安徽淮北经济开发区新区石山路6号 |
专利法律状态
2018-04-10
专利申请权、专利权的转移
状态信息
专利权的转移;IPC(主分类):D01G 15/04;专利号:ZL2011100564710;登记生效日:20180322;变更事项:专利权人;变更前权利人:浙江华孚色纺有限公司;变更后权利人:华孚时尚股份有限公司;变更事项:地址;变更前权利人:312300 浙江省绍兴市上虞市经济开发区人民中路1088号;变更后权利人:235100 安徽淮北经济开发区新区石山路6号
2015-07-29
专利实施许可合同备案的生效、变更及注销
状态信息
专利实施许可合同备案的生效;IPC(主分类):D01G 15/04;合同备案号:2015340000076;让与人:浙江华孚色纺有限公司;受让人:华孚色纺股份有限公司;发明名称:一种色纺棉条的打样设备及其打样方法;申请日:20110309;申请公布日:20120919;授权公告日:20141231;许可种类:独占许可;备案日期:20150604
2014-12-31
发明专利权授予
状态信息
授权
2012-11-14
实质审查的生效
状态信息
实质审查的生效;IPC(主分类):D01G 15/04;申请日:20110309
2012-09-19
发明专利申请公布
状态信息
公布
摘要
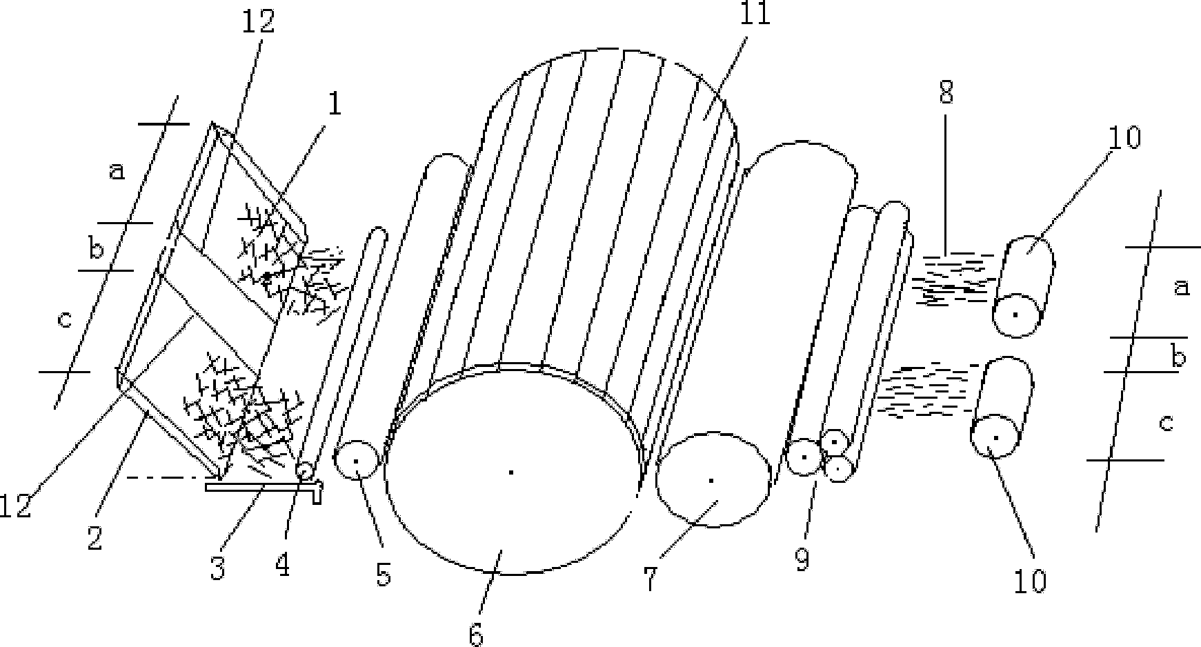
本发明属于棉纺技术领域,涉及一种色纺棉条的打样设备及其打样方法。本发明的色纺棉条的打样设备包括打样梳棉机,打样梳棉机包括依次连接的喂给托槽、给棉板、给棉罗拉、刺辊、锡林、道夫、剥棉转移罗拉和输出装置,所述锡林上方还设有盖板,所述喂给托槽包括倾斜板,倾斜板上经隔板或槽板隔成相互平行的左工作区、隔离区和右工作区,且隔离区位于两工作区之间,所述输出装置包括两个与所述剥棉转移罗拉平行的圆柱形棉层卷绕滚筒。本发明专用打样梳棉机可同时进行两个试样生产,能提高打样效率,降低梳棉能耗成本,且操作方便。所获得的棉条样品厚薄均匀,棉网中纤维性状、半制品棉层内部纤维形态和棉条中纤维形态与大生产相一致。


