授权公布号:CN211848263U
一种细纱机单锭断头检测装置
有效
申请
2020-03-09
申请公布
1970-01-01
授权
2020-11-03
预估到期
2030-03-09
| 申请号 | CN202020274255.8 |
| 申请日 | 2020-03-09 |
| 授权公布号 | CN211848263U |
| 授权公告日 | 2020-11-03 |
| 分类号 | D01H13/32;D01H13/16 |
| 分类 | 天然或人造的线或纤维;纺纱或纺丝; |
| 申请人名称 | 山东岱银纺织集团股份有限公司 |
| 申请人地址 | 山东省泰安市泰山区东岳大街12号 |
专利法律状态
2020-11-03
授权
状态信息
授权
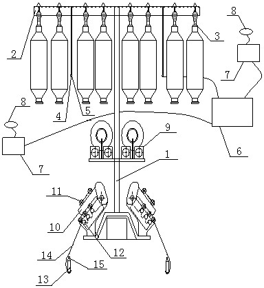
摘要
本实用新型涉及一种细纱机的局部构件,特别涉及一种细纱机单锭断头检测装置。该细纱机单锭断头检测装置,包括立柱和安装于立柱顶部的纱架,纱架上安装有吊锭和导纱杆;其特征是:所述导纱杆底部安装有摄像头,摄像头与数据处理器相连接,数据处理器分别连接有显示屏和报警灯。本实用新型的有益效果是:可以及时快速的找到断头吊锭,以便于即使处理,减少了原料浪费,提高了生产效率,保证了产品的质量;该检测装置成本低、检测精度高、对安装要求较低,利于环锭纺细纱机车间生产。


