授权公布号:CN208472271U
一种高弹高恢复性抗菌袜纱的生产装置
有效
申请
2018-05-04
申请公布
1970-01-01
授权
2019-02-05
预估到期
2028-05-04
| 申请号 | CN201820655736.6 |
| 申请日 | 2018-05-04 |
| 授权公布号 | CN208472271U |
| 授权公告日 | 2019-02-05 |
| 分类号 | D02G3/32;D02G3/44;D01H13/04;D01H1/18;D01H1/02 |
| 分类 | 纱线;纱线或绳索的机械整理;整经或络经; |
| 申请人名称 | 山东岱银纺织集团股份有限公司 |
| 申请人地址 | 山东省泰安市泰山经济开发区擂鼓石路89号 |
专利法律状态
2019-02-05
授权
状态信息
授权
摘要
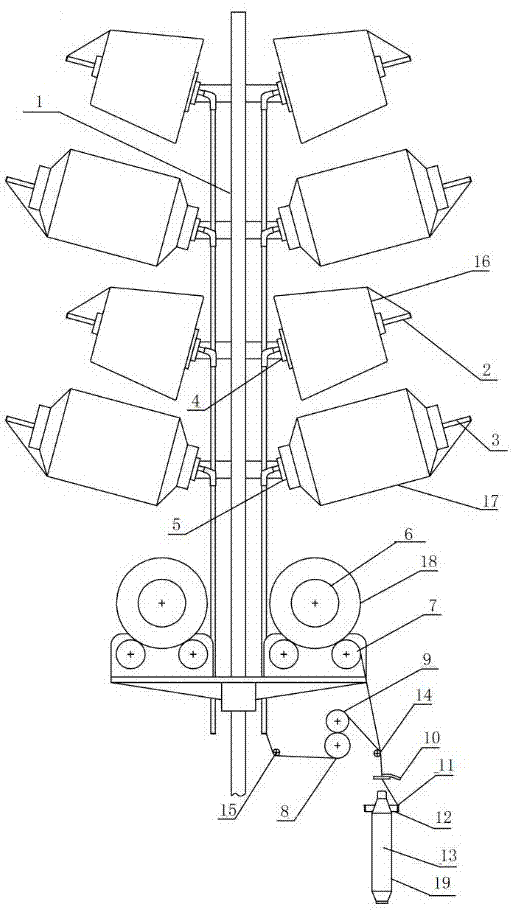
本实用新型涉及纺织技术领域,特别涉及一种高弹高恢复性抗菌袜纱的生产装置。该高弹高恢复性抗菌袜纱的生产装置,包括立柱,立柱的两侧设有缠绕筒纱的筒纱退绕管和缠绕长丝的长丝退绕管,所述筒纱退绕管和长丝退绕管底部分别通过筒纱底座和长丝底座固定于立柱上,其特征是:所述筒纱退绕管和长丝退绕管的下方设有缠绕氨纶丝的氨纶丝纸管,氨纶丝纸管下方设有前导纱杆,氨纶丝经导丝罗拉牵伸后绕过前导纱杆。本实用新型的有益效果是:具有突出的弹性、良好恢复性和抗菌性,可用一个尺码替代多个尺码,可降低袜厂的生产和运营成本。


