授权公布号:CN112244216B
五谷杂粮豆奶加工设备及加工方法
有效
申请
2020-10-10
申请公布
2021-01-22
授权
2022-09-06
预估到期
2040-10-10
| 申请号 | CN202011080365.1 |
| 申请日 | 2020-10-10 |
| 申请公布号 | CN112244216A |
| 申请公布日 | 2021-01-22 |
| 授权公布号 | CN112244216B |
| 授权公告日 | 2022-09-06 |
| 分类号 | B02C9/04;A23L11/65;A23L33/10;A23C11/10 |
| 分类 | 其他类不包含的食品或食料;及其处理; |
| 申请人名称 | 祖名豆制品股份有限公司 |
| 申请人地址 | 浙江省杭州市滨江区江陵路77号 |
专利法律状态
2022-09-06
授权
状态信息
授权
2021-01-22
公布
状态信息
公布
摘要
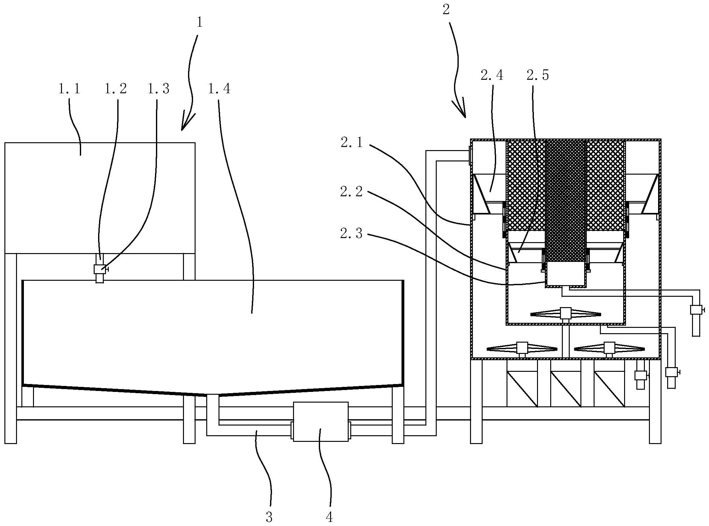
本发明公开了一种五谷杂粮豆奶加工设备及加工方法,旨在提供一种物料的利用率高,无废水废渣,并且浆液细腻的五谷杂粮豆奶加工设备及加工方法。五谷杂粮豆奶加工设备,粗磨设备、细磨设备及煮浆装置,粗磨设备包括粗磨浆机、设置在粗磨浆机底部的出浆管及第一储浆槽;细磨设备包括底架、第一细磨浆装置、第二细磨浆装置、设置在底架上的第一桶体、固定在第一桶体内的第二桶体及固定在第二桶体内的第三桶体。第一桶体的上部设有进浆口,出浆口与进浆口通过输送管道相连接,输送管道上设有输送泵。


