授权公布号:CN206025857U
一种展示镜展示架
有效
申请
2016-06-15
申请公布
1970-01-01
授权
2017-03-22
预估到期
2026-06-15
| 申请号 | CN201620586956.9 |
| 申请日 | 2016-06-15 |
| 授权公布号 | CN206025857U |
| 授权公告日 | 2017-03-22 |
| 分类号 | A47F7/17;A47F5/00;A47F11/04 |
| 分类 | 家具;家庭用的物品或设备;咖啡磨;香料磨;一般吸尘器; |
| 申请人名称 | 江苏左右环保装饰材料有限公司 |
| 申请人地址 | 江苏省常州市新北区天安花园29-3号 |
专利法律状态
2017-03-22
授权
状态信息
授权
摘要
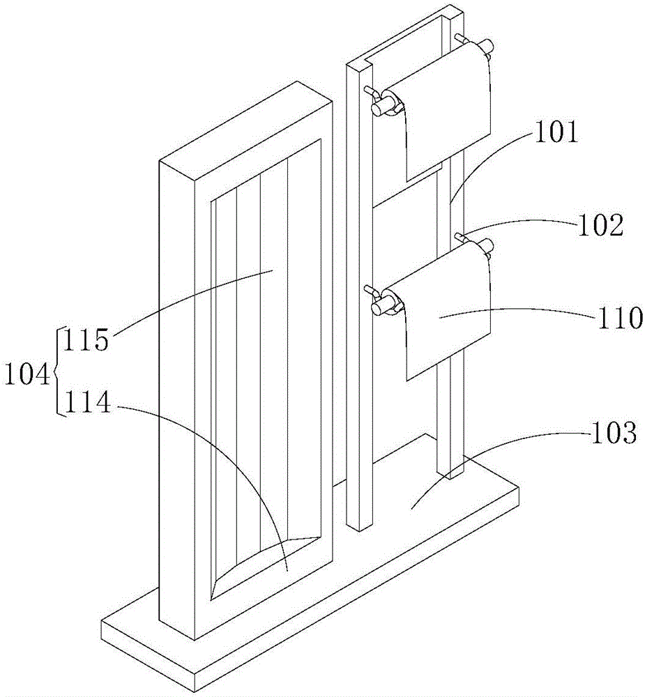
本实用新型提供了一种展示镜展示架,属于物品展示领域,包括底板、托架、展示镜和两根相对设置的立柱,两根立柱分别安装在底板上,托架的两端分别安装在两根立柱上,托架上设置有凹槽,托架用于支撑物品;展示镜包括框架和镜面组,镜面组安装在框架内,镜面组在水平面内投影为多边弧形,框架安装在底板上,框架与两根立柱间隔设置。购买者在选购壁纸时,可以将有意向的壁纸从托架上拿下,拿到展示镜前打开并观看效果。由于展示镜与托架相邻设置,购买者可以快速换取不同的壁纸进行展示,在较短时间内选购到理想的壁纸。


