授权公布号:CN111845313B
一种抗扭拉杆及其安装结构
有效
申请
2019-04-30
申请公布
2020-10-30
授权
2024-03-26
预估到期
2039-04-30
| 申请号 | CN201910365464.5 |
| 申请日 | 2019-04-30 |
| 申请公布号 | CN111845313A |
| 申请公布日 | 2020-10-30 |
| 授权公布号 | CN111845313B |
| 授权公告日 | 2024-03-26 |
| 分类号 | B60K5/12;B60K17/06 |
| 分类 | 一般车辆; |
| 申请人名称 | 广州汽车集团股份有限公司 |
| 申请人地址 | 广东省广州市越秀区东风中路448-458号成悦大厦23楼 |
专利法律状态
2024-03-26
授权
状态信息
授权
2020-10-30
公布
状态信息
公布
摘要
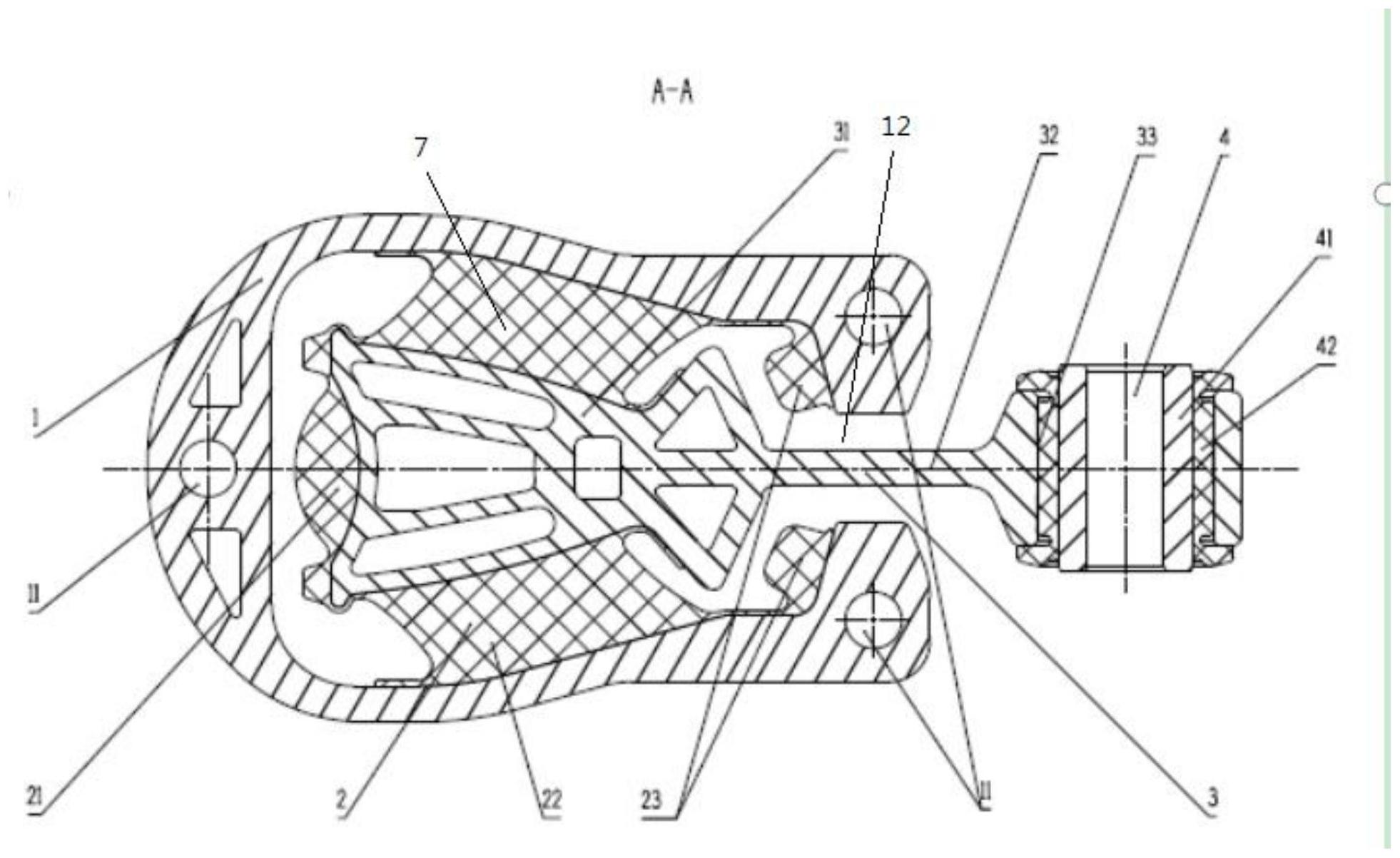
本发明提供一种抗扭拉杆,包括大端衬套、小端衬套、以及拉杆支架,大端衬套包括大端衬套内管、大端衬套橡胶体以及大端衬套外管,大端衬套外管具有一缺口,拉杆支架的一端穿过缺口而与大端衬套内管连接,拉杆支架的另一端与小端衬套连接,大端衬套外管上设有第一固定孔,第一固定孔用于供固定件穿过并将大端衬套外管固定于副车架。本发明还一种抗扭拉杆安装结构,该抗扭拉杆安装结构的抗扭拉杆为上述的抗扭拉杆,该抗扭拉杆安装结构还包括副车架,副车架包括上层板和下层板,上层板和下层板形成一安装口,上层板和下层板上设有第二固定孔,大端衬套置于安装口内,固定件穿过第一固定孔和第二固定孔而将大端衬套外管固定于副车架。


