授权公布号:CN107539266B
一种双头预紧式汽车安全带
有效
申请
2017-08-03
申请公布
2018-01-05
授权
2024-03-26
预估到期
2037-08-03
| 申请号 | CN201710659973.X |
| 申请日 | 2017-08-03 |
| 申请公布号 | CN107539266A |
| 申请公布日 | 2018-01-05 |
| 授权公布号 | CN107539266B |
| 授权公告日 | 2024-03-26 |
| 分类号 | B60R22/34 |
| 分类 | 一般车辆; |
| 申请人名称 | 广州汽车集团股份有限公司 |
| 申请人地址 | 广东省广州市越秀区东风中路448-458号成悦大厦23楼 |
专利法律状态
2024-03-26
授权
状态信息
授权
2018-01-05
公布
状态信息
公布
摘要
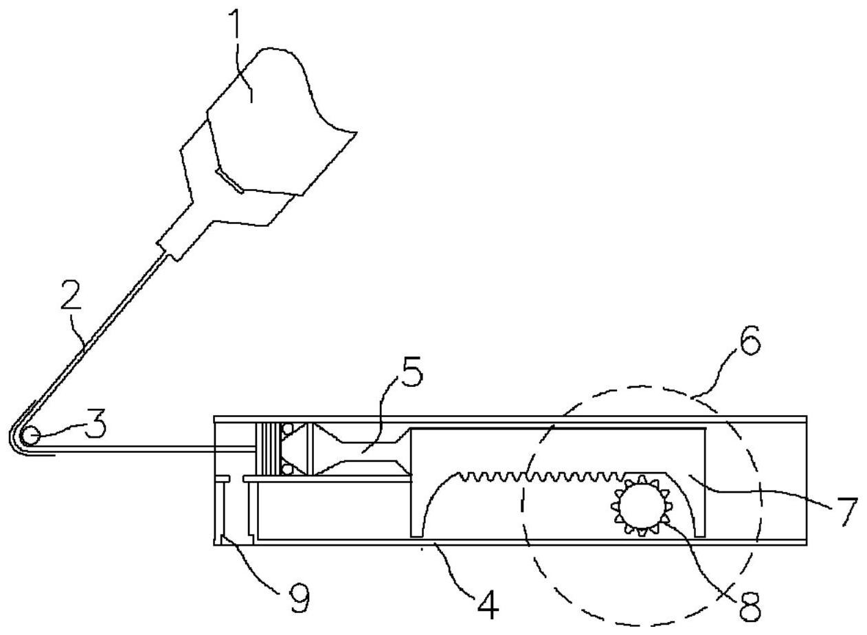
本发明提供一种双头预紧式汽车安全带,包括织带、预紧器壳体、活塞、织带卷轴、预紧齿条、驱动齿轮和动力发生装置,所述织带的一端连接于安全带锁扣,另一端与所述活塞连接,所述活塞相对于所述拉索的一端与所述预紧齿条的端面贴合,所述预紧齿条与所述驱动齿轮啮合,所述织带卷轴与所述驱动齿轮固定连接且可随所述驱动齿轮的转动而转动。本发明可以使织带回拉的同时推动驱动齿轮旋转,从而带动织带卷轴旋转,在保持近似单卷轴单预紧器的成本、体积和重量的同时,实现双头预紧安全带的功能。


