授权公布号:CN213922228U
一种便携式塑料编织袋
有效
申请
2020-09-17
申请公布
1970-01-01
授权
2021-08-10
预估到期
2030-09-17
| 申请号 | CN202022043085.5 |
| 申请日 | 2020-09-17 |
| 授权公布号 | CN213922228U |
| 授权公告日 | 2021-08-10 |
| 分类号 | B65D33/06;B65D33/25 |
| 分类 | 输送;包装;贮存;搬运薄的或细丝状材料; |
| 申请人名称 | 重庆新天包装材料有限公司 |
| 申请人地址 | 重庆市长寿区晏家川维厂内 |
专利法律状态
2021-08-10
授权
状态信息
授权
摘要
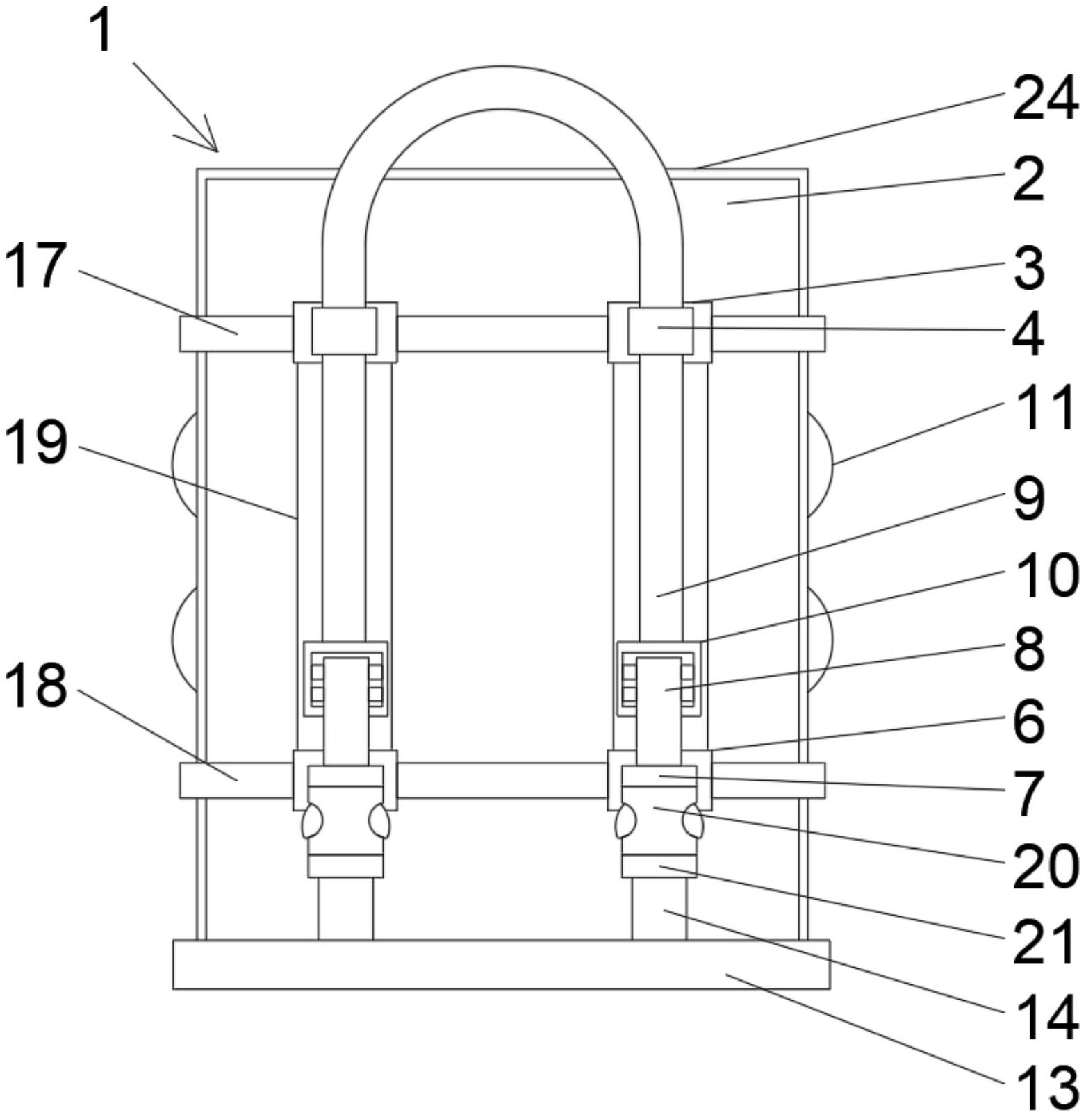
本实用新型公开了一种便携式塑料编织袋,包括袋子,所述袋子由两片面料组成,所述面料的表面固定连接有多个第一连接布片,所述第一连接布片的表面固定连接有限位壳,所述限位壳的侧壁开设有安装孔,所述面料的表面且位于第一连接布片的下方固定连接有两片第二连接布片,所述第二连接布片的表面固定连接有安装壳,所述安装壳的侧壁固定连接有调节带,所述调节带之间设置有背带,所述背带的两端固定连接有长度调节器,所述面料的表面且位于第二连接布片的两侧固定连接有多个固定布片,所述固定布片与面料之间设置有磁铁,所述袋子的底部设置有兜底布片。本实用新型,负重均衡、负重量大、不易损坏、方便收容。


