授权公布号:CN105436600B
一种电冲装置
有效
申请
2015-12-29
申请公布
2016-03-30
授权
2018-07-27
预估到期
2035-12-29
| 申请号 | CN201511017195.1 |
| 申请日 | 2015-12-29 |
| 申请公布号 | CN105436600A |
| 申请公布日 | 2016-03-30 |
| 授权公布号 | CN105436600B |
| 授权公告日 | 2018-07-27 |
| 分类号 | B23D27/04 |
| 分类 | 机床;不包含在其他类目中的金属加工; |
| 申请人名称 | 重庆科欣塑料有限公司 |
| 申请人地址 | 重庆市江津区白沙工业园凤凰路6号 |
专利法律状态
2018-07-27
授权
状态信息
授权
2016-04-27
实质审查的生效
状态信息
实质审查的生效IPC(主分类):B23D 27/04申请日:20151229
2016-03-30
公布
状态信息
公布
摘要
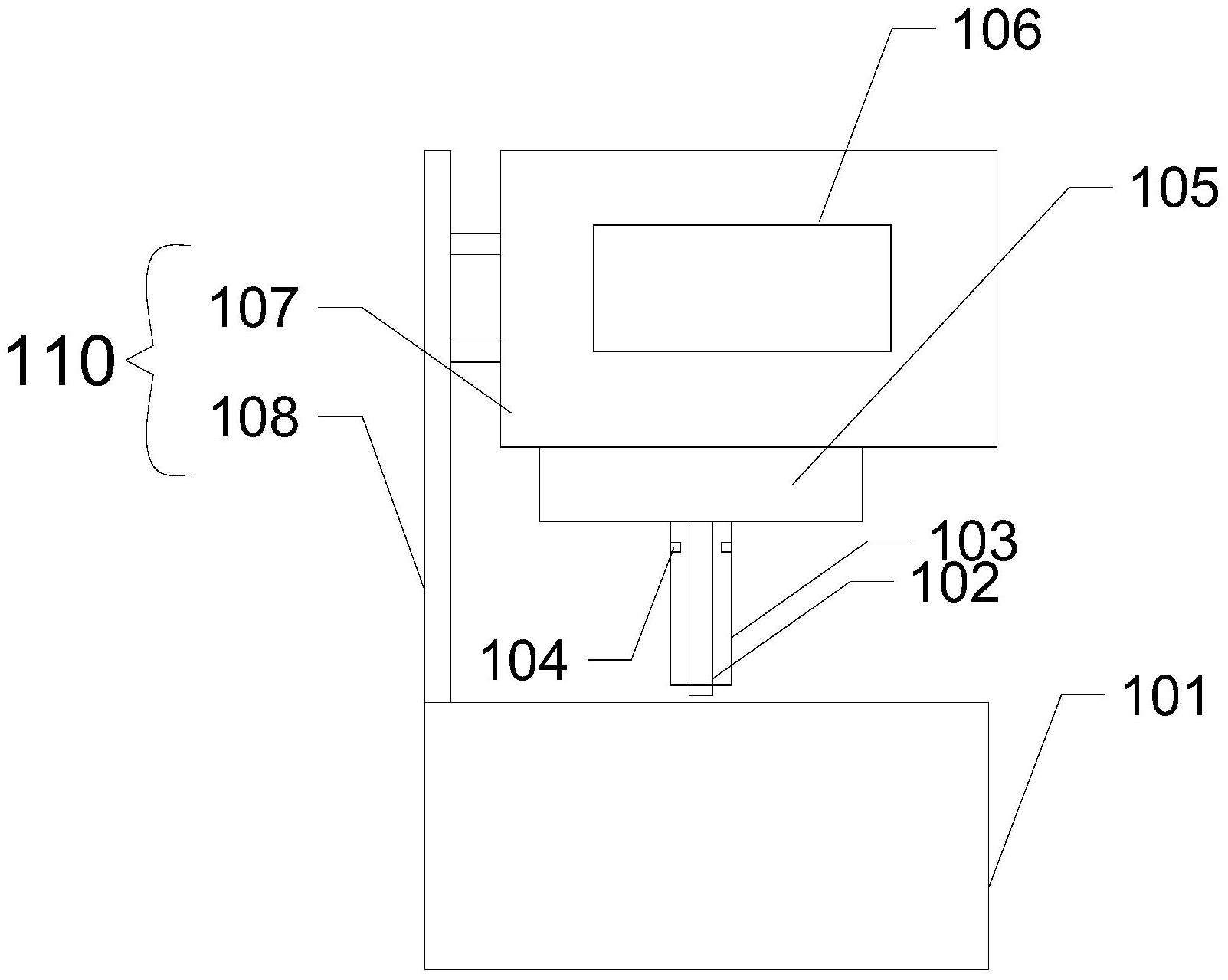
本发明公开了一种电冲装置,涉及电动切割工具领域,包括:操作平台、电冲机和物件平台,所述操作平台位于所述物件平台的上方,所述电冲机安装所述操作平台上,所述电冲机的刀头为圆柱型,所述刀头朝向所述物件平台,所述电冲机设有圆柱形容腔,所述刀头位于所述圆柱形容腔内,所述圆柱形容腔内壁设有安装环,所述安装环设有多个测距传感器,所述操作平台内设有控制板,所述控制板包括处理器,所述多个测距传感器均与所述处理器耦合,所述刀头与所述电冲机可拆卸连接。本发明的目的在于提供一种电冲装置,以有效提高电冲机的刀具损坏的检查效率。


