授权公布号:CN218256283U
一种环保运动鞋大底成型设备
有效
申请
2022-07-25
申请公布
1970-01-01
授权
2023-01-10
预估到期
2032-07-25
| 申请号 | CN202221924178.1 |
| 申请日 | 2022-07-25 |
| 授权公布号 | CN218256283U |
| 授权公告日 | 2023-01-10 |
| 分类号 | B29C43/02;B29C43/32;B29L31/50N |
| 分类 | 塑料的加工;一般处于塑性状态物质的加工; |
| 申请人名称 | 浙江环球鞋业有限公司 |
| 申请人地址 | 浙江省温州市瑞安市仙降街道工业区 |
专利法律状态
2023-01-10
授权
状态信息
授权
摘要
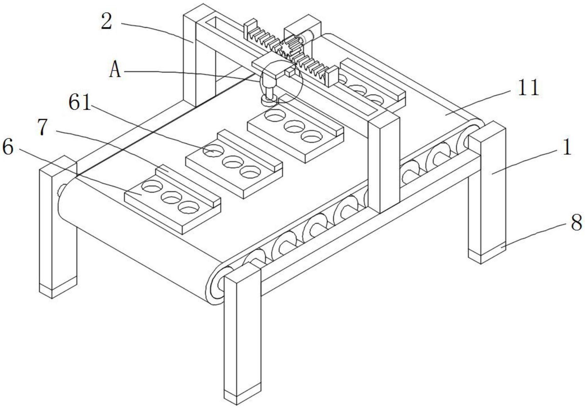
本实用新型公开了一种环保运动鞋大底成型设备,涉及运动鞋大底成型技术领域。本实用新型包括支架,支架内安装有传送带,传送带上表面固定连接有若干均匀分布的放置板,支架上表面固定连接有安装架,安装架上表面开设有滑槽,滑槽内滑动连接有滑块,滑块上表面固定连接有齿条,齿条一侧面固定连接有安装板,安装板下表面安装有液压缸,液压缸输出端固定连接有压板。本实用新型通过设置电机和液压缸,电机转动可以带动齿轮转动,进而可以使齿条沿着滑槽横向移动,以便于调节压板的横向位置,使压板正对放置槽,液压缸伸缩可以带动压板升降,以便于对运动鞋大底压合,不仅提升了安全性,并且可以连续的成型,可以提升工作效率。


