授权公布号:CN213347016U
一种鞋厂用鞋子高温消毒装置
有效
申请
2020-08-14
申请公布
1970-01-01
授权
2021-06-04
预估到期
2030-08-14
| 申请号 | CN202021694465.9 |
| 申请日 | 2020-08-14 |
| 授权公布号 | CN213347016U |
| 授权公告日 | 2021-06-04 |
| 分类号 | A61L2/20;A61L2/10;A61L2/26;A43D95/00;A61L101/10 |
| 分类 | 医学或兽医学;卫生学; |
| 申请人名称 | 浙江环球鞋业有限公司 |
| 申请人地址 | 浙江省温州市瑞安市仙降街道工业区 |
专利法律状态
2021-06-04
授权
状态信息
授权
摘要
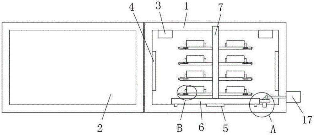
本实用新型属于鞋子加工设备领域,尤其是一种鞋厂用鞋子高温消毒装置,针对现有消毒设备不便于对鞋子的消毒位置进行调节,消毒效果较差,且效率低的问题,现提出如下方案,其包括消毒箱,所述消毒箱的一侧转动安装有箱板,消毒箱的顶部内壁上固定安装有两个臭氧发生器,消毒箱的两侧内壁上均固定安装有灭菌灯,所述消毒箱的底部内壁上开设有转动槽,转动槽内转动安装有转盘,转盘的顶部固定安装有大齿轮,大齿轮的顶部固定安装有连接杆,所述连接杆上固定安装有多个放置板,多个放置板上均放置有鞋体。本实用新型结构合理,操作方便,该消毒设备便于对鞋子的消毒位置进行调节,消毒效果较好,且效率高。


