授权公布号:CN107013938B
具有硬质通气导电件的点火枪
有效
申请
2017-05-12
申请公布
2017-08-04
授权
2019-08-30
预估到期
2037-05-12
| 申请号 | CN201710335733.4 |
| 申请日 | 2017-05-12 |
| 申请公布号 | CN107013938A |
| 申请公布日 | 2017-08-04 |
| 授权公布号 | CN107013938B |
| 授权公告日 | 2019-08-30 |
| 分类号 | F23Q2/34;F23Q2/16 |
| 分类 | 燃烧设备;燃烧方法; |
| 申请人名称 | 赣州市卫诚火机制造有限公司 |
| 申请人地址 | 江西省赣州市赣州经济技术开发区湖边镇(八O三厂路中段) |
专利法律状态
2019-08-30
授权
状态信息
授权
2018-05-04
专利申请权、专利权的转移
状态信息
专利申请权的转移;IPC(主分类):F23Q2/34;登记生效日:20180416;变更事项:申请人;变更前:易晓琛;变更后:赣州市卫诚火机制造有限公司;变更事项:地址;变更前:341099 江西省赣州市健康路18号G栋1单元402室;变更后:341000 江西省赣州市赣州经济技术开发区湖边镇(八O三厂路中段)
2017-08-29
实质审查的生效
状态信息
实质审查的生效;IPC(主分类):F23Q2/34;申请日:20170512
2017-08-04
公布
状态信息
公布
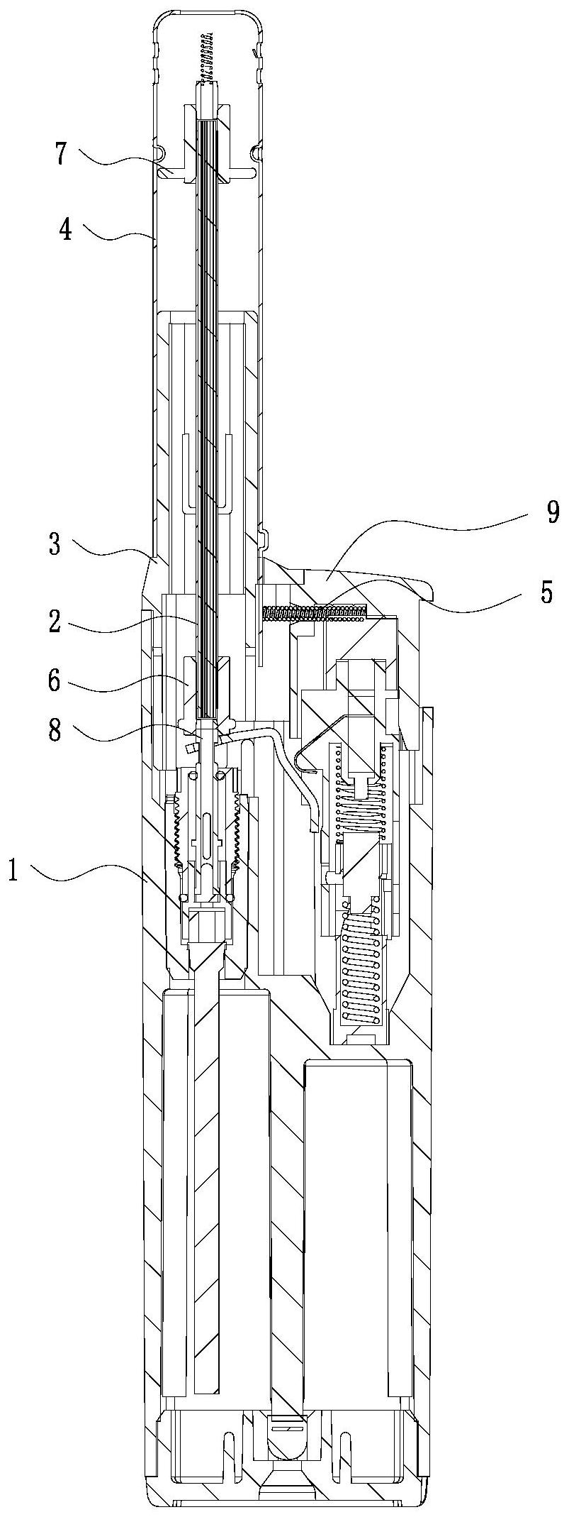
摘要
本发明属于点火器技术领域,具体涉及具有硬质通气导电件的点火枪。针对现有的明火点火枪采用软质的点火电线、回路电线和引气软管,装配不便的不足,采用如下技术方案:具有硬质通气导电件的点火枪,包括枪体和枪管,枪体具有可储存液化可燃气体的燃气室,燃气室上端设有压电组件和出气火嘴,压电组件一极连接出气火嘴,枪管上部设有放电电极,放电电极连接压电组件另一极,还包括一可同时通气导电的硬质通气导电件,硬质通气导电件与出气火嘴密封插接。本发明的具有硬质通气导电件的点火枪,装配方便,大大提高装配效率,并可满足自动化装配要求。


