授权公布号:CN107660852B
伞头组件及雨伞
有效
申请
2017-10-10
申请公布
2018-02-06
授权
2023-09-26
预估到期
2037-10-10
| 申请号 | CN201710934689.9 |
| 申请日 | 2017-10-10 |
| 申请公布号 | CN107660852A |
| 申请公布日 | 2018-02-06 |
| 授权公布号 | CN107660852B |
| 授权公告日 | 2023-09-26 |
| 分类号 | A45B25/14;A45B25/12 |
| 分类 | 手携物品或旅行品; |
| 申请人名称 | 酷波(厦门)进出口有限公司 |
| 申请人地址 | 福建省厦门市湖里区安岭二路86号804单元之一 |
专利法律状态
2023-09-26
授权
状态信息
授权
2018-03-06
实质审查的生效
状态信息
实质审查的生效;IPC(主分类):A45B25/14;申请日:20171010
2018-02-06
公布
状态信息
公布
摘要
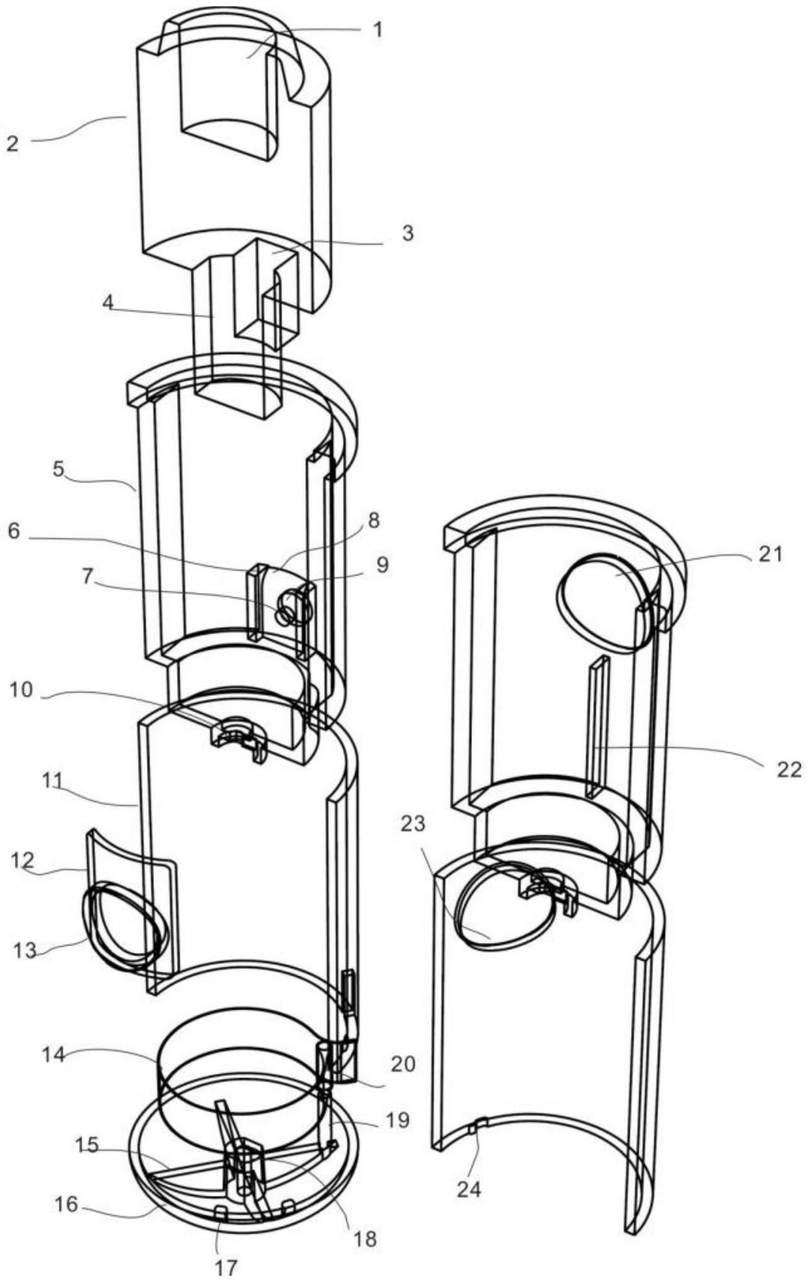
本发明公开了一种伞头组件及雨伞,所述伞头组件包括:本体,开关,其设置在所述本体上;第一壳体,其套设在所述本体外部,所述第一壳体与所述本体匹配以使其能够围绕所述本体旋转,所述第一壳体上设置第一通孔,其中,在所述第一壳体配置为能够绕所述本体旋转,以使所述开关能够从所述第一通孔中露出或被所述第一壳体遮挡;本发明的伞头组件及雨伞,通过将雨伞的开关进行隐藏,使雨伞在使用过程中不会出现误碰开关导致的安全问题,伞头带隐藏,不会对操作者造成使用上的不便于烦恼,外观结构简洁美观,使用方便。


