授权公布号:CN101785595B
一种易拆解的伞骨连接结构
有效
申请
2009-06-25
申请公布
2010-07-28
授权
2012-12-12
预估到期
2029-06-25
| 申请号 | CN200910112132.2 |
| 申请日 | 2009-06-25 |
| 申请公布号 | CN101785595A |
| 申请公布日 | 2010-07-28 |
| 授权公布号 | CN101785595B |
| 授权公告日 | 2012-12-12 |
| 分类号 | A45B25/00 |
| 分类 | 手携物品或旅行品; |
| 申请人名称 | 厦门福太洋伞有限公司 |
| 申请人地址 | 福建省厦门市杏林区新源路37号 |
专利法律状态
2012-12-12
授权
状态信息
授权
2010-09-22
实质审查的生效
状态信息
实质审查的生效IPC(主分类):A45B 25/00申请日:20090625
2010-07-28
公布
状态信息
公开
摘要
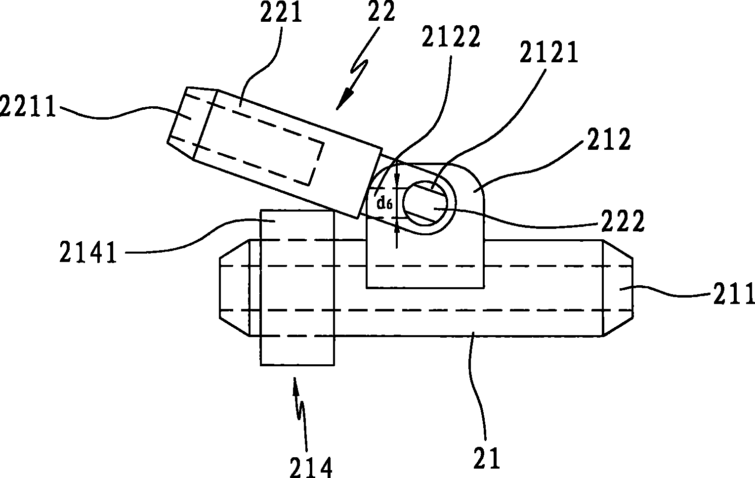
本发明涉及伞技术领域,具体公开一种易拆解的伞骨连接结构,包括基座和可转动连接在基座上的转动体,其中,所述基座包括相对设置且具有同轴孔的第一凸耳、第二凸耳,所述第一凸耳和第二凸耳内设有从各自孔引出且同向平行的第一导槽和第二导槽,所述转动体包括主体、以及设置在主体两侧的第一凸轴和第二凸轴,所述第一凸轴、第二凸轴分别与所述第一凸耳、第二凸耳的孔可转动配合,所述第一凸轴、第二凸轴可分别沿第一导槽、第二导槽滑入或滑出。当将第一凸轴、第二凸轴旋转到导槽方向时,所述转动体脱离基座从而实现拆卸,这大大降低了拆卸难度,从而降低了拆卸成本。


