授权公布号:CN101785596B
一种自动开合伞防护装置的收线改良结构
有效
申请
2009-06-22
申请公布
2010-07-28
授权
2013-05-01
预估到期
2029-06-22
| 申请号 | CN200910112120.X |
| 申请日 | 2009-06-22 |
| 申请公布号 | CN101785596A |
| 申请公布日 | 2010-07-28 |
| 授权公布号 | CN101785596B |
| 授权公告日 | 2013-05-01 |
| 分类号 | A45B25/14 |
| 分类 | 手携物品或旅行品; |
| 申请人名称 | 厦门福太洋伞有限公司 |
| 申请人地址 | 福建省厦门市杏林区新源路37号 |
专利法律状态
2013-05-01
授权
状态信息
授权
2010-09-22
实质审查的生效
状态信息
实质审查的生效IPC(主分类):A45B 25/14申请日:20090622
2010-07-28
公布
状态信息
公开
摘要
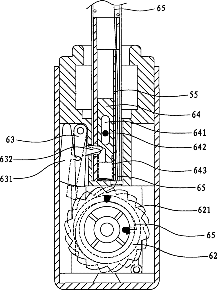
本发明针对现有技术中绳索直接穿过伞头而与上巢相连,其中存在的绳索容易损坏,且影响美观的问题,本发明公开一种自动开合伞防护装置的收线改良结构,该收线改良结构包括一端固定在辘轳上的绳索,绳索另一端固定在上巢上,其中,所述辘轳与上巢之间的绳索隐藏在伞中棒壳体中。本发明通过将绳索隐藏在伞头与伞中棒中,从而大大延长了绳索的使用寿命,进而延长了整个自动开合伞防护装置的使用寿命且增加了伞体的美观。


