授权公布号:CN101438877B
一种具有防护功能的自动开合伞
有效
申请
2007-11-23
申请公布
2009-05-27
授权
2010-08-18
预估到期
2027-11-23
| 申请号 | CN200710009892.1 |
| 申请日 | 2007-11-23 |
| 申请公布号 | CN101438877A |
| 申请公布日 | 2009-05-27 |
| 授权公布号 | CN101438877B |
| 授权公告日 | 2010-08-18 |
| 分类号 | A45B25/16;A45B25/14;A45B25/00;A45B19/04;A45B19/10 |
| 分类 | 手携物品或旅行品; |
| 申请人名称 | 厦门福太洋伞有限公司 |
| 申请人地址 | 福建省厦门市集美区新源路37号 |
专利法律状态
2010-08-18
授权
状态信息
授权
2009-09-30
实质审查的生效
状态信息
实质审查的生效
2009-05-27
公布
状态信息
公布
摘要
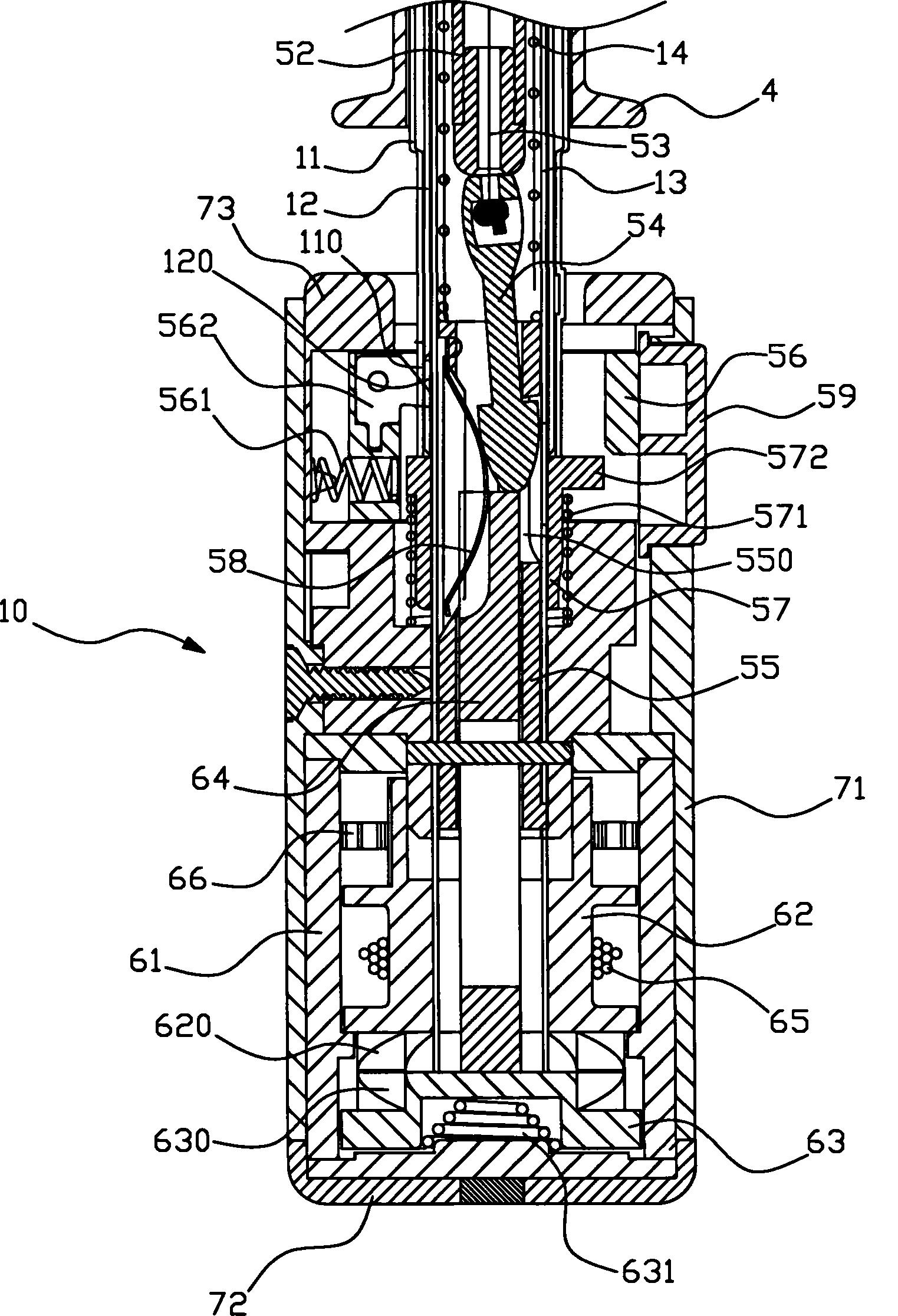
一种具有防护功能的自动开合伞,包括伸缩式的伞中棒和可开合伞骨装置,还包括:一辘轳,设于伞头内,该辘轳上绕设有一绳索,该绳索一端固定于该辘轳上,另一端向上与上巢连接;一发条弹簧,辘轳正向转动时使该发条弹簧上紧,发条弹簧松开时驱动辘轳反转;一离合器,包括一离合盘以及一驱动该离合盘向所述辘轳方向合上的离合弹簧,该离合盘与所述辘轳的相对面设有互相配合可单向滑动的斜齿。在收伞过程中压缩中棒时,在离合盘的作用下,辘轳仅能单向转动,受发条弹簧的作用,辘轳转动将绳索收起,若不小心中途放开中棒,绳索被拉紧,但辘轳无法向另一方向转动,因而绳索可将中棒固定,不使其弹开,因而具有安全防护作用。


