授权公布号:CN205624861U
一种伞支骨的转动结构
失效
申请
2016-05-17
申请公布
1970-01-01
授权
2016-10-12
预估到期
2026-05-17
| 申请号 | CN201620447749.5 |
| 申请日 | 2016-05-17 |
| 授权公布号 | CN205624861U |
| 授权公告日 | 2016-10-12 |
| 分类号 | A45B25/02 |
| 分类 | 手携物品或旅行品; |
| 申请人名称 | 厦门福太洋伞有限公司 |
| 申请人地址 | 福建省厦门市杏林区新源路37号 |
专利法律状态
2023-05-26
专利权的终止
状态信息
未缴年费专利权终止;IPC(主分类):A45B 25/02;专利号:ZL2016204477495;申请日:20160517;授权公告日:20161012;终止日期:
2016-10-12
授权
状态信息
授权
摘要
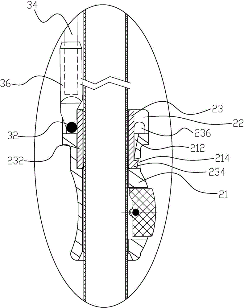
本实用新型公开了一种伞支骨的转动结构,包括滑动设置在中棒上的下巢,支骨内端与下巢转动连接在一起,支骨的端部设有转轴,转轴转动连接在下巢内,支骨能够以转轴为中心进行摆动,下巢设有用于在支骨摆动时对支骨进行让位的凹槽。转轴活动设置在下巢内部,支骨绕转轴进行摆动,转轴不会划伤手指,使用安装。支骨上不需要设置开孔,转轴还能够增加支骨端部的强度,减少支骨的用料,使支骨的体积更小。


