授权公布号:CN209750049U
开关分离式防丢雨伞
有效
申请
2019-01-10
申请公布
1970-01-01
授权
2019-12-10
预估到期
2029-01-10
| 申请号 | CN201920041874.X |
| 申请日 | 2019-01-10 |
| 授权公布号 | CN209750049U |
| 授权公告日 | 2019-12-10 |
| 分类号 | A45B11/00;A45B9/02;A45B25/00 |
| 分类 | 手携物品或旅行品; |
| 申请人名称 | 福建雨丝梦洋伞实业有限公司 |
| 申请人地址 | 福建省泉州市晋江市东石镇塔头刘工业区 |
专利法律状态
2020-11-20
专利权的保全及其解除
状态信息
专利权的保全及其解除
2019-12-10
授权
状态信息
授权
摘要
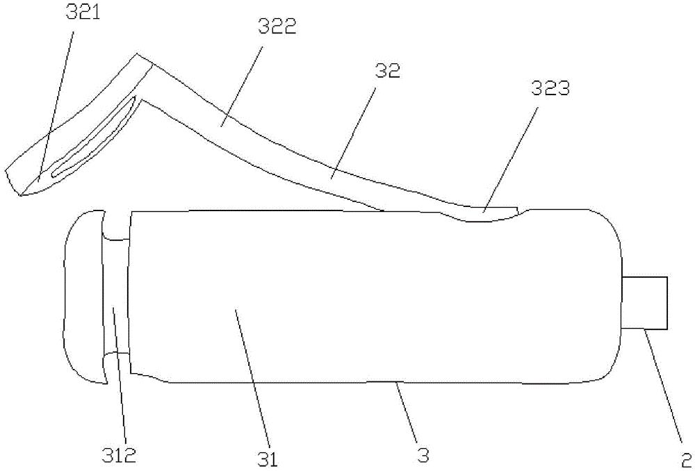
本实用新型公开了一种开关分离式防丢雨伞,包括伞体、伞杆和伞柄,所述伞体安装在所述伞杆上部,所述伞柄安装在所述伞杆底部,所述伞柄包括壳体和橡胶开关,所述壳体为柱状结构,壳体与伞杆连接端设有杆孔,壳体表面往下凹陷形成橡胶开关凹槽,壳体背面凹槽上设有槽口,所述橡胶开关为一体结构,橡胶开关底部设有橡胶环,橡胶环一端面向上延伸形成延伸部,延伸部末端设有开关,所述橡胶开关和所述壳体嵌合。在伞柄上设置橡胶开关,可以在橡胶开关安装时按下开关打开雨伞,并且当你没意识到雨伞已经丢失时,橡胶开关可以起到提示作用,提醒你找回雨伞。


