授权公布号:CN209644077U
智能导盲伞
有效
申请
2019-01-10
申请公布
1970-01-01
授权
2019-11-19
预估到期
2029-01-10
| 申请号 | CN201920041871.6 |
| 申请日 | 2019-01-10 |
| 授权公布号 | CN209644077U |
| 授权公告日 | 2019-11-19 |
| 分类号 | A45B9/02;A45B3/00 |
| 分类 | 手携物品或旅行品; |
| 申请人名称 | 福建雨丝梦洋伞实业有限公司 |
| 申请人地址 | 福建省泉州市晋江市东石镇塔头刘工业区 |
专利法律状态
2020-12-01
专利权的保全及其解除
状态信息
专利权的保全及其解除
2019-11-19
授权
状态信息
授权
摘要
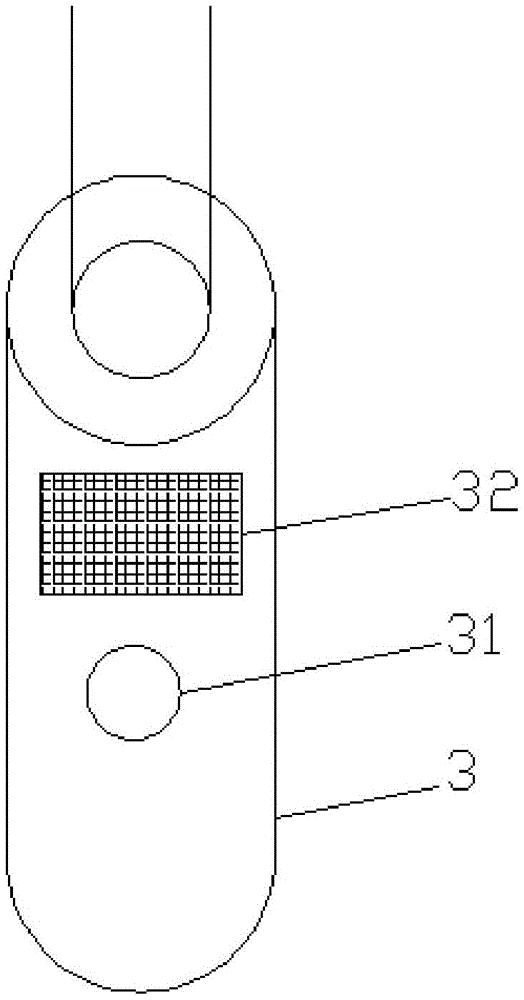
本实用新型公开了一种智能导盲伞,包括伞柄、伞杆、中棒、支撑骨和伞面,所述伞柄设于伞杆底部,伞柄为中空结构,伞柄内设有开关按钮、电池和控制电路板,伞柄外表面设有盲文显示屏、提示灯和充电接口,伞柄底部设有红外感应器,所述电池、开关按钮、盲文显示屏、提示灯、充电接口和红外感应器均与控制电路板电连接。在盲人使用者出行时,伞柄底部的红外感应器可以了解周围路段的情况,然后通过电路控制板传输到盲文显示屏以盲文的形式提醒盲人下面该怎么走,在夜间出行时,伞柄上的提示灯能够发光,警示行人,确保盲人夜间出行安全,另外伞柄与伞杆可拆卸连接为充电续航提供了便利。


