授权公布号:CN206166018U
一种便捷式竖直摆放雨伞
有效
申请
2016-08-31
申请公布
1970-01-01
授权
2017-05-17
预估到期
2026-08-31
| 申请号 | CN201621023890.9 |
| 申请日 | 2016-08-31 |
| 授权公布号 | CN206166018U |
| 授权公告日 | 2017-05-17 |
| 分类号 | A45B25/00;A45B9/02 |
| 分类 | 手携物品或旅行品; |
| 申请人名称 | 福建雨丝梦洋伞实业有限公司 |
| 申请人地址 | 福建省泉州市晋江市东石镇塔头刘工业区 |
专利法律状态
2020-11-17
专利权的保全及其解除
状态信息
专利权的保全及其解除
2017-05-17
授权
状态信息
授权
摘要
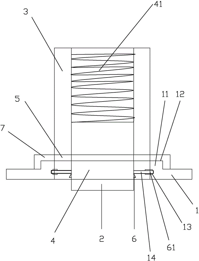
本实用新型揭示了一种便捷式竖直摆放雨伞,包括伞头、伞骨以及支撑杆;伞头包括固定柱和与固定柱弹性连接且水平延伸的支撑部件,支撑部件通过水平方向的滑动伸缩杆与固定柱相连,滑动伸缩杆外设有使支撑部件与固定柱产生斥力的第一弹性部件;支撑部件的内端形成有向上延伸的凸块,固定柱形成有上下滑动的滑套,滑套的下端形成有与凸块相匹配的卡槽,伞头还包括设置于底部的控制滑套上下滑动的按钮。目的在于在解决没有伞架悬挂雨伞的不便的同时,使雨伞的放置更加简单。


