授权公布号:CN214992479U
一种洗晾一体机
有效
申请
2021-06-04
申请公布
1970-01-01
授权
2021-12-03
预估到期
2031-06-04
| 申请号 | CN202121255003.1 |
| 申请日 | 2021-06-04 |
| 授权公布号 | CN214992479U |
| 授权公告日 | 2021-12-03 |
| 分类号 | D06F35/00;D06F19/00;D06F58/14;D06F58/20;D06F39/08;D06F34/14;D06F34/18;D06F34/04;A61L2/10;A61L2/24;D06F103/04N;D06F103/18N;D06F105/02N;D06F105/08N;D06F105/32N |
| 分类 | 织物等的处理;洗涤;其他类不包括的柔性材料; |
| 申请人名称 | 九牧智能厨卫(安徽)有限公司 |
| 申请人地址 | 福建省泉州市南安市仑苍镇高新技术园南路1号之十四 |
专利法律状态
2023-12-19
专利申请权、专利权的转移
状态信息
专利权的转移;IPC(主分类):D06F 35/00;专利号:ZL2021212550031;登记生效日:20231201;变更事项:专利权人;变更前权利人:九牧智能厨卫(安徽)有限公司;变更后权利人:南安九牧智能晾晒科技有限公司;变更事项:地址;变更前权利人:239000 安徽省滁州市苏滁现代产业园扬子东路1528号;变更后权利人:362300 福建省泉州市南安市仑苍镇高新技术园南路1号之十四
2021-12-03
授权
状态信息
授权
摘要
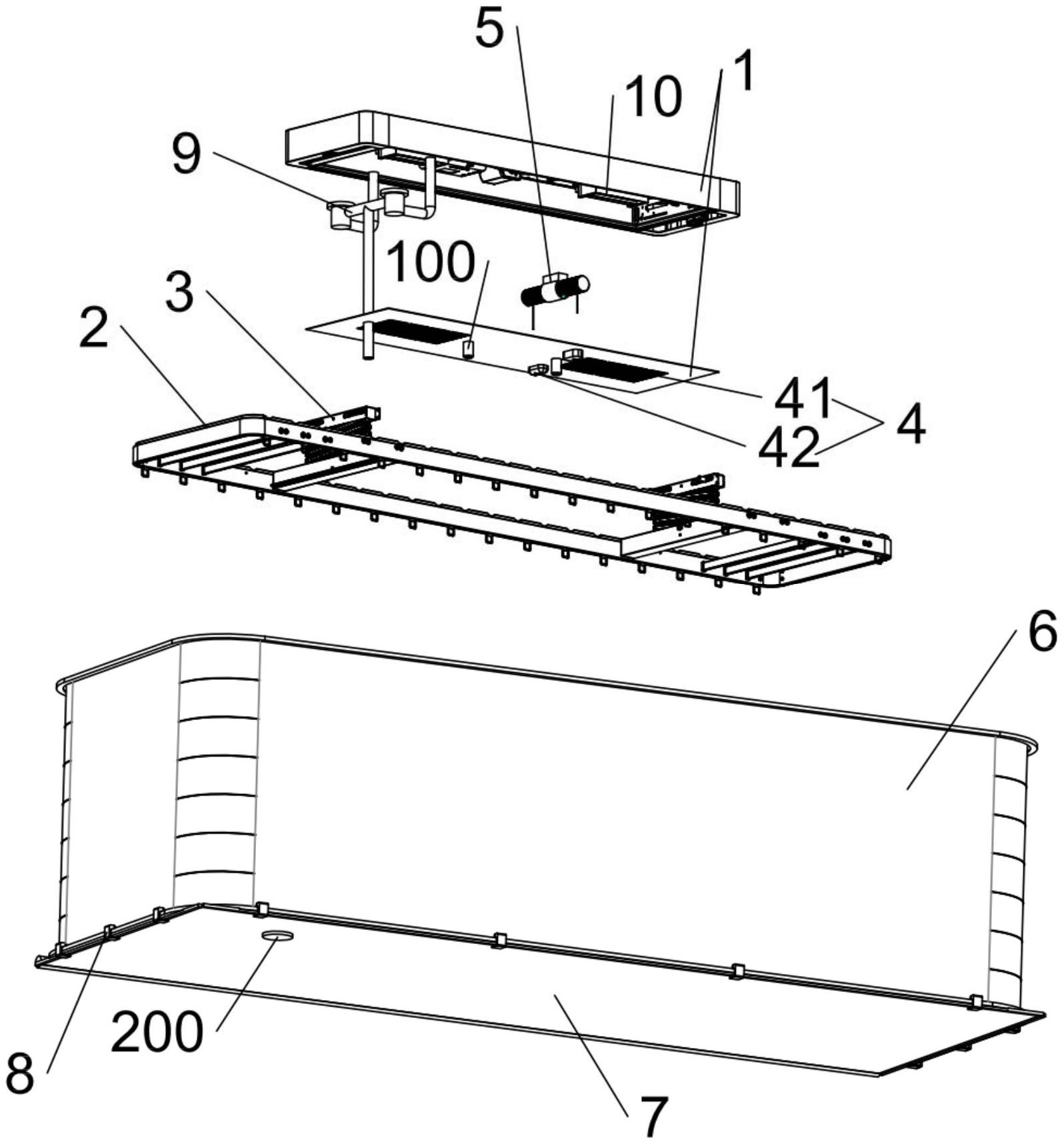
本实用新型公开了一种洗晾一体机,包括机体、清洗模块、第一驱动件、围帘、底帘和给排水件:机体固接于墙顶;挂架装设于机体,用于晾挂衣物;清洗模块相对机体沿垂直方向滑动;第一驱动件装设于机体,用于驱动清洗模块升降;围帘设有顶部框架、第一帘体和底部框架;顶部框架与机体或墙顶固接;第一帘体适于折叠和伸展;底帘设有第一端、第二端和第二帘体;第一端与底部框架的一端固接,第二端适于沿底部框架滑动;第二帘体适于卷收或展放;第二帘体展放时,其边缘与底部框架密封连接,以使围帘和第二帘体围合形成清洗腔;给排水件与机体固接,用于向清洗腔供水和从清洗腔排水。本实施例的洗晾一体机,同时具备洗衣功能和晾衣功能。


