授权公布号:CN214459010U
一种晾衣机
有效
申请
2020-10-22
申请公布
1970-01-01
授权
2021-10-22
预估到期
2030-10-22
| 申请号 | CN202022371069.9 |
| 申请日 | 2020-10-22 |
| 授权公布号 | CN214459010U |
| 授权公告日 | 2021-10-22 |
| 分类号 | D06F57/12 |
| 分类 | 织物等的处理;洗涤;其他类不包括的柔性材料; |
| 申请人名称 | 九牧智能厨卫(安徽)有限公司 |
| 申请人地址 | 福建省泉州市南安市仑苍镇高新技术园南路1号之十四 |
专利法律状态
2023-12-19
专利申请权、专利权的转移
状态信息
专利权的转移;IPC(主分类):D06F 57/12;专利号:ZL2020223710699;登记生效日:20231201;变更事项:专利权人;变更前权利人:九牧智能厨卫(安徽)有限公司;变更后权利人:南安九牧智能晾晒科技有限公司;变更事项:地址;变更前权利人:239000 安徽省滁州市苏滁现代产业园扬子东路1528号;变更后权利人:362300 福建省泉州市南安市仑苍镇高新技术园南路1号之十四
2021-10-22
授权
状态信息
授权
摘要
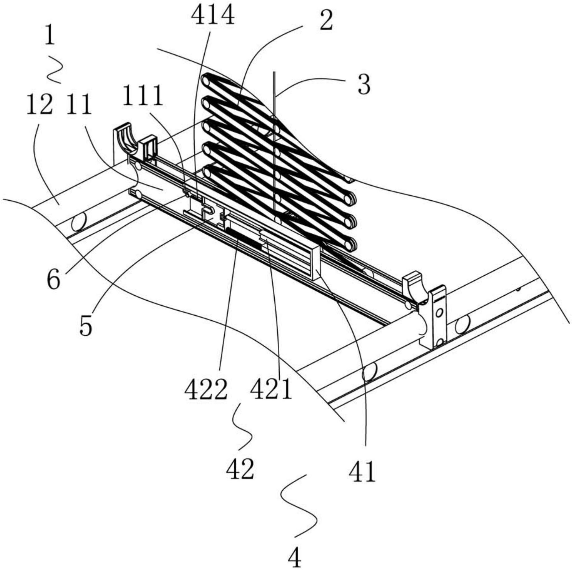
本实用新型公开了一种晾衣机,包括晾衣架本体和剪刀架,剪刀架的两个滑动端与晾衣架本体滑动连接,还包括缓冲装置和连接件;缓冲装置包括滑动件、连接座和阻尼组件;连接座与晾衣架本体固接,且适于供滑动件沿垂直于晾衣架本体长度延伸的方向滑动;阻尼组件装设于连接座,并顶抵滑动件;连接座与剪刀架的滑动端固接,当剪刀架的两个滑动端彼此靠近时,连接件顶抵滑动件,以使滑动件克服阻尼组件的阻尼作用相对连接座滑动,以避免钢丝绳断裂时,晾衣架本体和剪刀架迅速掉落的情况。


