授权公布号:CN213202192U
一种晾衣架防跳线结构及手摇晾衣架
有效
申请
2020-06-23
申请公布
1970-01-01
授权
2021-05-14
预估到期
2030-06-23
| 申请号 | CN202021190056.5 |
| 申请日 | 2020-06-23 |
| 授权公布号 | CN213202192U |
| 授权公告日 | 2021-05-14 |
| 分类号 | B66D1/28;D06F57/12 |
| 分类 | 卷扬;提升;牵引; |
| 申请人名称 | 九牧智能厨卫(安徽)有限公司 |
| 申请人地址 | 福建省泉州市南安市仑苍镇高新技术园南路1号之十四 |
专利法律状态
2023-12-19
专利申请权、专利权的转移
状态信息
专利权的转移;IPC(主分类):B66D1/28;专利号:ZL2020211900565;登记生效日:20231201;变更事项:专利权人;变更前权利人:九牧智能厨卫(安徽)有限公司;变更后权利人:南安九牧智能晾晒科技有限公司;变更事项:地址;变更前权利人:239000 安徽省滁州市苏滁现代产业园扬子东路1528号;变更后权利人:362300 福建省泉州市南安市仑苍镇高新技术园南路1号之十四
2021-05-14
授权
状态信息
授权
摘要
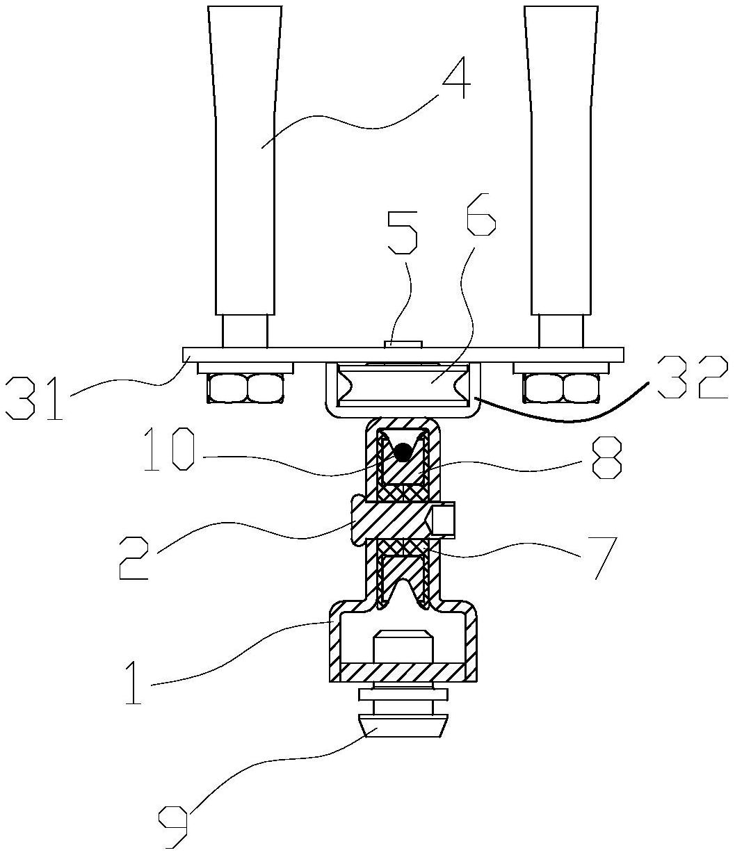
本实用新型公开了一种晾衣架防跳线结构及手摇晾衣架,所述晾衣架防跳线结构包括滑轮架和第一滑轮,还包括两防脱圈,该两防脱圈和第一滑轮同轴装在滑轮架中,且第一滑轮位于两防脱圈之间。本实用新型能够利用两防脱圈对第一滑轮与滑轮架之间的缝隙做适当填充,避免钢丝绳在松弛状态卡入第一滑轮与滑轮架之间的缝隙中,从而避免出现钢丝绳卡死和磨损的现象。


