授权公布号:CN209831375U
一种孔套定位装置及孔套安装设备
有效
申请
2018-09-21
申请公布
1970-01-01
授权
2019-12-24
预估到期
2028-09-21
| 申请号 | CN201821545481.4 |
| 申请日 | 2018-09-21 |
| 授权公布号 | CN209831375U |
| 授权公告日 | 2019-12-24 |
| 分类号 | B25B11/00 |
| 分类 | 手动工具;轻便机动工具;手动器械的手柄;车间设备;机械手; |
| 申请人名称 | 九牧智能厨卫(安徽)有限公司 |
| 申请人地址 | 安徽省滁州市苏滁现代产业园扬子东路1528号 |
专利法律状态
2019-12-24
授权
状态信息
授权
摘要
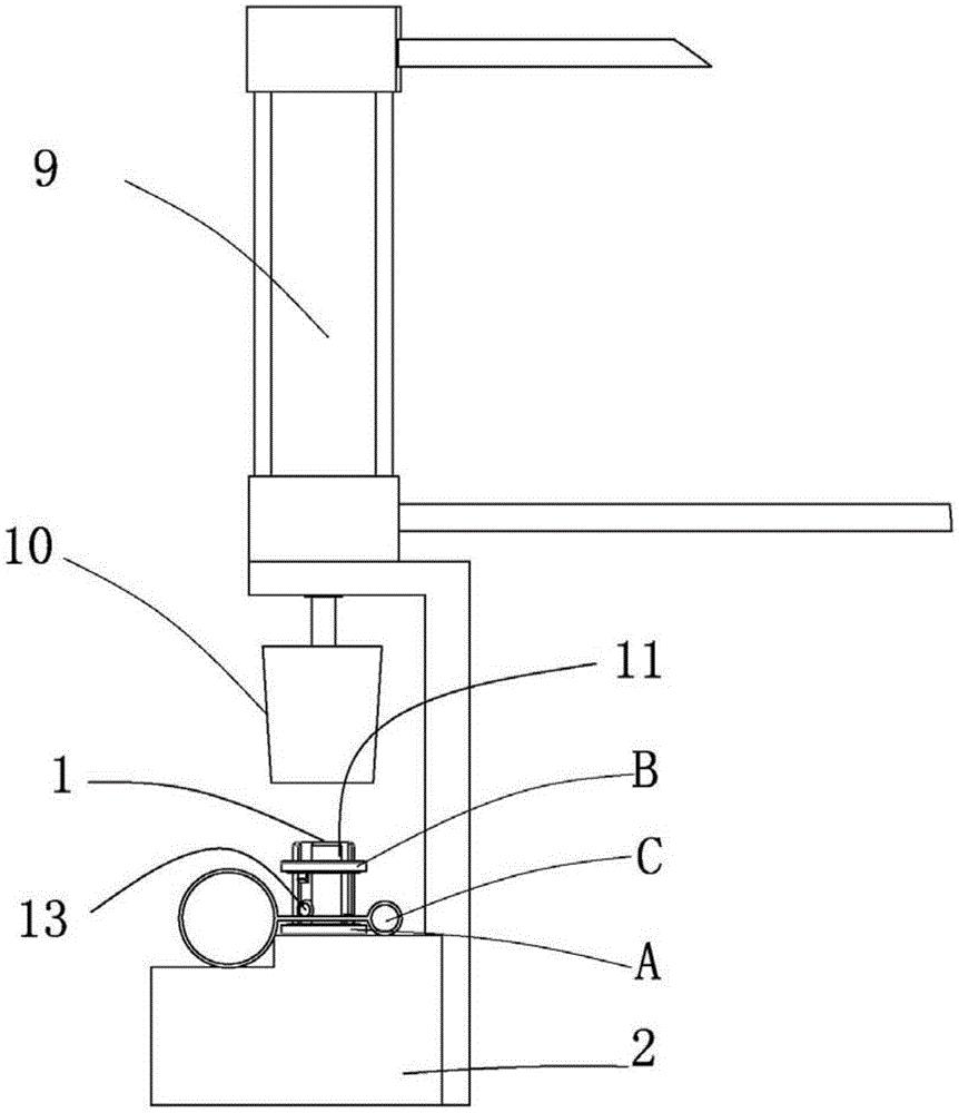
本实用新型公开了一种孔套定位装置及孔套安装设备,用于将置于晾衣杆孔两侧的孔套相扣合;所述孔套定位装置包括基台和定位柱,其中,所述基台上设有供定位柱滑设的定位柱孔,所述定位柱在长度方向上设有与卡扣数量相匹配的让位槽;所述的孔套安装设备包括孔套定位装置、气缸和推杆,其中,所述气缸的固定部与基台固定连接,所述气缸的输出部与推杆固定连接,所述推杆用于压抵定位柱,以使所述的孔套定位装置及孔套安装设备能够对孔套进行快速的定位和安装。


