授权公布号:CN207484123U
一种具有辅助晾晒功能的电动晾衣架
有效
申请
2017-08-31
申请公布
1970-01-01
授权
2018-06-12
预估到期
2027-08-31
| 申请号 | CN201721113163.6 |
| 申请日 | 2017-08-31 |
| 授权公布号 | CN207484123U |
| 授权公告日 | 2018-06-12 |
| 分类号 | D06F57/12 |
| 分类 | 织物等的处理;洗涤;其他类不包括的柔性材料; |
| 申请人名称 | 九牧智能厨卫(安徽)有限公司 |
| 申请人地址 | 安徽省滁州市苏滁现代产业园扬子东路1528号 |
专利法律状态
2018-06-12
授权
状态信息
授权
摘要
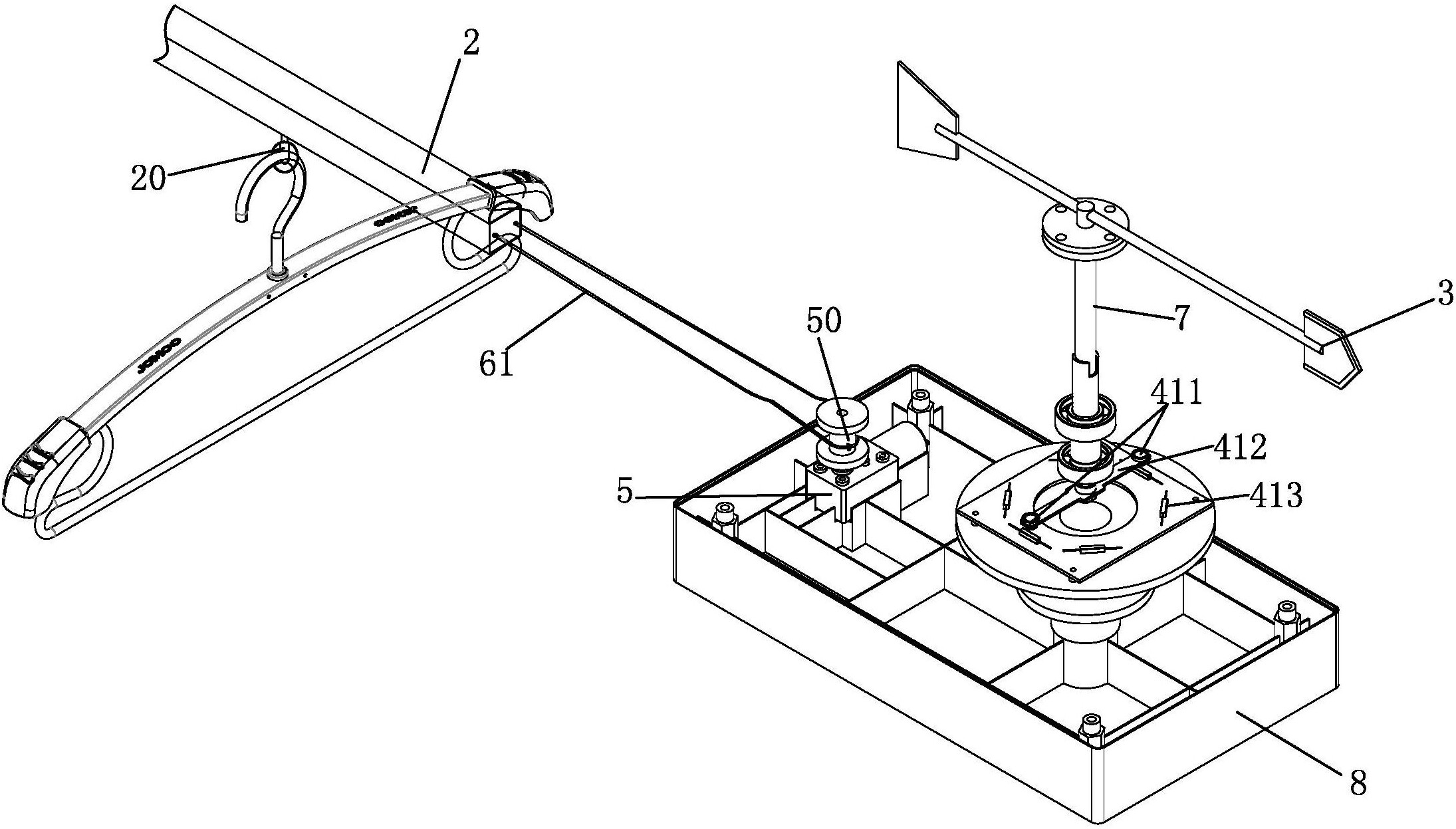
本实用新型公开一种具有辅助晾晒功能的电动晾衣架,其包括晾衣架本体及晾杆;还包括一辅助晾晒组件,其装设在晾衣架本体外侧;该辅助晾晒组件包括风向标、主控单元、驱动电机及传动组件;风向标通过旋转轴与主控单元的感应组件配合;所述驱动电机通过传动组件与所述晾杆上的挂环相连并形成转动配合;所述风向标与主控单元相连,主控单元根据风向标转动的角度输出控制信号给驱动电机,驱动电机接收主控单元的控制信号而转动,带动与之配合的传动组件随之动作,联动所述晾杆受传动组件驱使而转动,本新型提供一种具有辅助晾晒功能的电动晾衣架,其结构简单、设计合理,大幅度提升晾晒效率,保证晾晒衣服实时顺风晾晒,同时还能防止晾晒衣服脱落。


