授权公布号:CN207484124U
一种电动晾衣架
有效
申请
2017-09-08
申请公布
1970-01-01
授权
2018-06-12
预估到期
2027-09-08
| 申请号 | CN201721154453.5 |
| 申请日 | 2017-09-08 |
| 授权公布号 | CN207484124U |
| 授权公告日 | 2018-06-12 |
| 分类号 | D06F57/12;D06F58/20 |
| 分类 | 织物等的处理;洗涤;其他类不包括的柔性材料; |
| 申请人名称 | 九牧智能厨卫(安徽)有限公司 |
| 申请人地址 | 安徽省滁州市苏滁现代产业园扬子东路1528号 |
专利法律状态
2018-06-12
授权
状态信息
授权
摘要
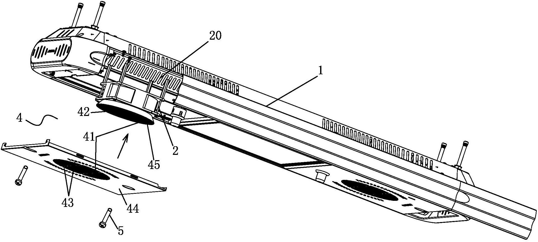
本实用新型公开一种电动晾衣架,其包括晾衣架主体、吹风组件及相接晾衣架主体的挂杆,所述吹风组件装设在晾衣架主体下方,并向挂杆上的衣物吹风;还包括一导向出风板,该导向出风板对应吹风组件装设;所述导向出风板包括出风口及成型于出风口内的若干导风片,各导风片平行于所述挂杆间隔排布,且导风片以出风口中线为界分设成第一、第二导风片组,该第一、第二导风片组对称设置且两导风片组的导风片分别朝向晾衣架主体两侧的挂杆倾斜导风;提供一种电动晾衣架,其结构简单、设计合理且易实现,本新型大幅度提升风干效率,增大吹风面积,保证晾晒衣服顺风晾晒,同时通过引风口引流形成循环,增加空气流动性及回流效果,加速风干衣物。


