授权公布号:CN220512640U
一种可活动的多功能衣架
有效
申请
2023-06-27
申请公布
1970-01-01
授权
2024-02-23
预估到期
2033-06-27
| 申请号 | CN202321652903.9 |
| 申请日 | 2023-06-27 |
| 授权公布号 | CN220512640U |
| 授权公告日 | 2024-02-23 |
| 分类号 | A47G25/28;A47G25/18 |
| 分类 | 家具;家庭用的物品或设备;咖啡磨;香料磨;一般吸尘器; |
| 申请人名称 | 桂林俏天下家居用品集团有限公司 |
| 申请人地址 | 广西壮族自治区桂林市荔浦市荔浦县桥富工业园九号(荔桂路莲塘) |
专利法律状态
2024-02-23
授权
状态信息
授权
摘要
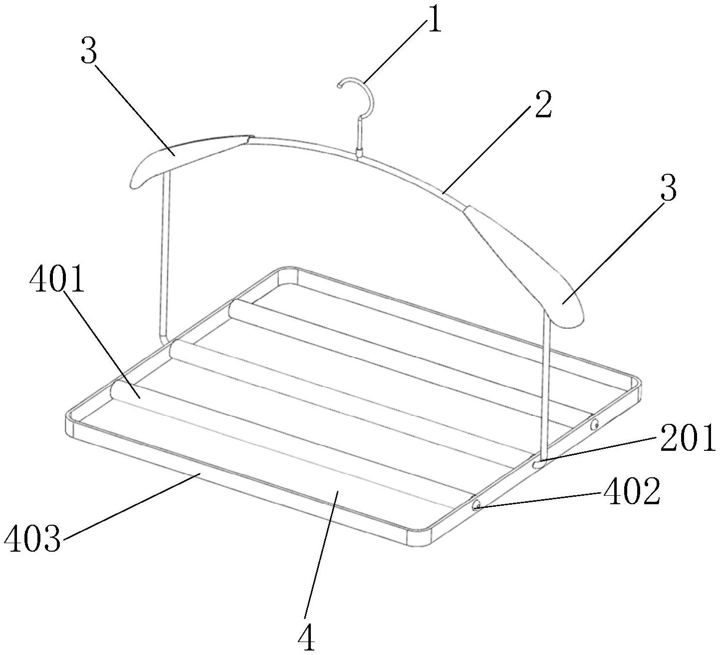
本实用新型公开了一种可活动的多功能衣架,包括挂钩本体、倒U形支撑体、肩撑部和支撑架;挂钩本体的底部与倒U形支撑体上方中部连接,倒U形支撑体上方远离挂钩本体的边缘处安装有肩撑部,倒U形支撑体下方设有向挂钩本体弯折的弯折部,弯折部与支撑架中部连接,支撑架沿着弯折部径向相对转动,支撑架用于悬挂一件或多件衣物。本实用新型通过将衣架设置为由挂钩本体、倒U形支撑体、肩撑部和支撑架的配合连接,通过调节支撑架和倒U形支撑体之间的相对位置,可以选择性的悬挂一件或多件衣物,使用功能多样化,其次,如果不使用时候,可以将相同的衣架上下依次悬挂,方便收纳,节约空间。本实用新型结构简单,操作方便和适用性强。


