授权公布号:CN108099883B
一种环卫车转向、制动用电动双联油泵系统
有效
申请
2017-12-21
申请公布
2018-06-01
授权
2024-03-26
预估到期
2037-12-21
| 申请号 | CN201711390627.2 |
| 申请日 | 2017-12-21 |
| 申请公布号 | CN108099883A |
| 申请公布日 | 2018-06-01 |
| 授权公布号 | CN108099883B |
| 授权公告日 | 2024-03-26 |
| 分类号 | B60T13/14;B62D5/06 |
| 分类 | 一般车辆; |
| 申请人名称 | 郑州宇通重工有限公司 |
| 申请人地址 | 河南省郑州市经济技术开发区宇工路88号 |
专利法律状态
2024-03-26
授权
状态信息
授权
2018-06-01
公布
状态信息
公布
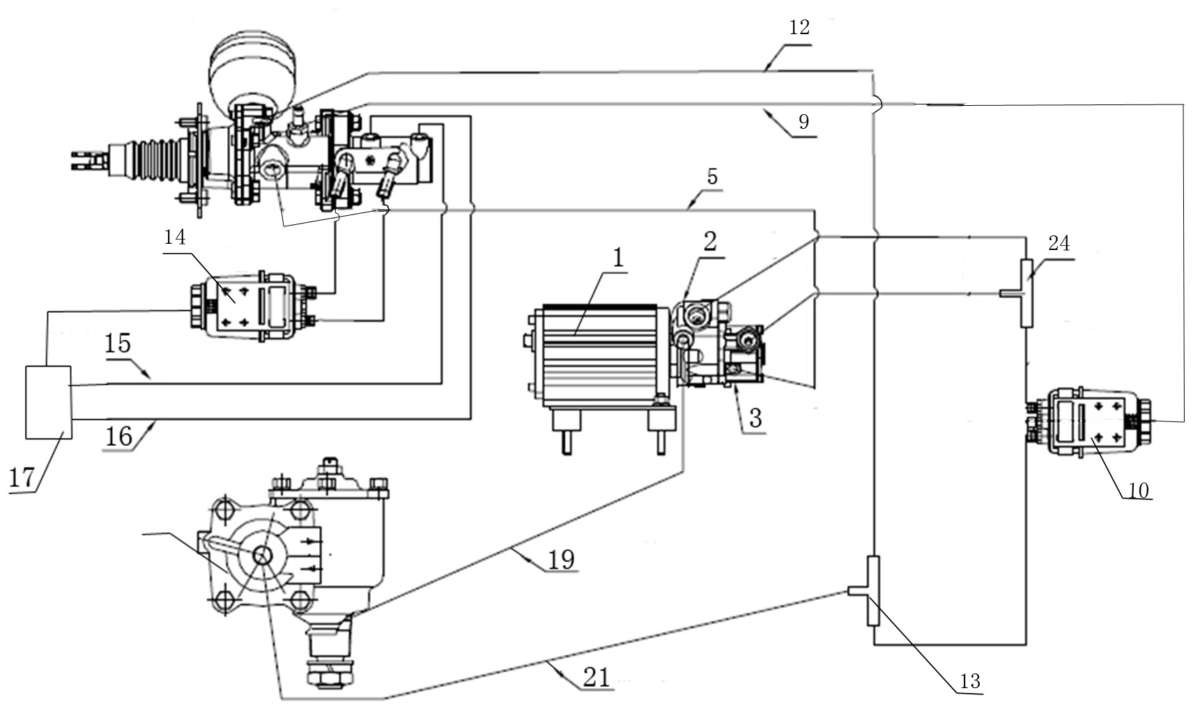
摘要
本发明公开了一种环卫车转向、制动用电动双联油泵系统,电机通过联轴器与转向液压泵连接,刹车液压泵设置在转向液压泵外侧,转向液压泵的转子与刹车液压泵的转子同轴,刹车液压泵出油口与液压助力器进油口连通,液压助力器第一回油口与第二油壶的第一进油口连通;制动总缸低压油进油口与第一油壶的出油口连通,制动总缸高压油出油口与液压制动系统的进油口连通;转向液压泵出油口与转向器连通,转向器与第一三通阀连通;第一三通阀与第二油壶第二进油口连通,第二三通阀分别与刹车液压泵进油口和转向液压泵进油口连通。本发明着力解决7T环卫车液压制动系统的助力源问题,并降低打方向、踩刹车踏板时液压系统产生的噪声。


