授权公布号:CN109297683B
一种基于数字激光全息快速检测透镜中心偏的装置及方法
有效
申请
2018-10-11
申请公布
2019-02-01
授权
2024-02-20
预估到期
2038-10-11
| 申请号 | CN201811185951.5 |
| 申请日 | 2018-10-11 |
| 申请公布号 | CN109297683A |
| 申请公布日 | 2019-02-01 |
| 授权公布号 | CN109297683B |
| 授权公告日 | 2024-02-20 |
| 分类号 | G01M11/02 |
| 分类 | 测量;测试; |
| 申请人名称 | 广州博冠光电科技股份有限公司 |
| 申请人地址 | 广东省广州市高新技术产业开发区科学城开源大道11号A5栋第三层A单元 |
专利法律状态
2024-02-20
授权
状态信息
授权
2019-03-01
实质审查的生效
状态信息
实质审查的生效;IPC(主分类):G01M11/02;申请日:20181011
2019-02-01
公布
状态信息
公布
摘要
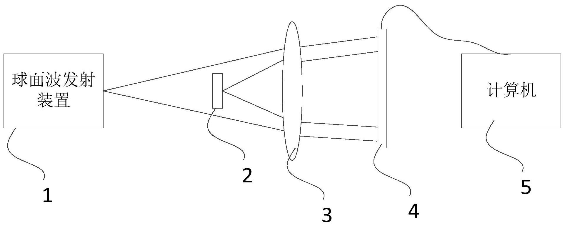
本发明公开一种基于数字激光全息快速检测透镜中心偏的装置及方法,涉及透镜检测技术领域,包括:球面波发射装置、分划板、待测透镜、图像传感器和计算机;所述的球面波发射装置后端依次设置有分划板和图像传感器,形成的球面波,经分划板发生衍射,衍射波与未发生变化的参考光波干涉叠加形成全息图经图像传感器采集;所述的待测透镜设置于分划板与图像传感器之间,调整分划板与待测透镜之间的距离以检测透镜中心偏;所述的图像传感器输出端连接计算机的输入端;本装置结构简单、稳定,不存在复杂的接收光学系统,无需机械扫描;检测方法效率高,测量精度高,过程简单,可检测无穷长焦距的透镜。


