授权公布号:CN110146975B
望远镜主镜中心定位机构
有效
申请
2019-06-19
申请公布
2019-08-20
授权
2023-05-12
预估到期
2039-06-19
| 申请号 | CN201910530515.5 |
| 申请日 | 2019-06-19 |
| 申请公布号 | CN110146975A |
| 申请公布日 | 2019-08-20 |
| 授权公布号 | CN110146975B |
| 授权公告日 | 2023-05-12 |
| 分类号 | G02B23/16 |
| 分类 | 光学; |
| 申请人名称 | 中科院南京耐尔思光电仪器有限公司 |
| 申请人地址 | 江苏省南京市高淳区开发区花山路23号 |
专利法律状态
2023-05-12
授权
状态信息
授权
2019-08-20
公布
状态信息
公布
摘要
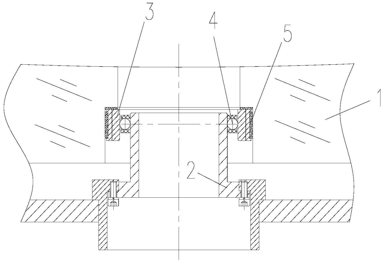
本发明公开了一种望远镜主镜中心定位机构,包括内环、外环和钢球;钢球通过支架设置于内环、外环之间,且内环、外环和钢球过盈配合安装;外环沿高度方向开设有多个通槽,沿外环的轴线方向观察通槽的端面呈L形;通过开设多个通槽,将外环分割为外环本体和位于外环本体外侧的多个连接板;外环通过固定在连接板外侧的第一聚四氟乙烯连接块与主镜的中心孔内壁连接。通过设置该中心定位机构,主镜能够沿内环上、下自由活动,而左、右零间隙,热膨胀问题对材料的要求不是特别高,降低成本,且易加工。


