授权公布号:CN212283175U
一种植物提取液分离纯化装置
失效
申请
2020-05-12
申请公布
1970-01-01
授权
2021-01-05
预估到期
2030-05-12
| 申请号 | CN202020776595.0 |
| 申请日 | 2020-05-12 |
| 授权公布号 | CN212283175U |
| 授权公告日 | 2021-01-05 |
| 分类号 | B01D36/00;A61L2/08 |
| 分类 | 一般的物理或化学的方法或装置; |
| 申请人名称 | 江苏敖广日化集团股份有限公司 |
| 申请人地址 | 江苏省南京市高淳区双高路205号 |
专利法律状态
2021-01-05
授权
状态信息
授权
摘要
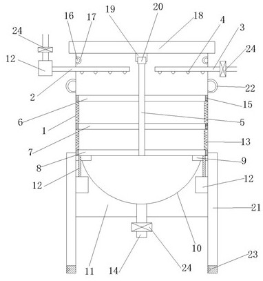
一种植物提取液分离纯化装置,包括罐体,所述罐体的上方两端分别贯穿设有进料管和溶剂管,所述进料管连接过滤器,位于所述罐体内的进料管和溶剂管上均设有多个喷头,所述罐体内部设有纯化装置,所述纯化装置包括固定杆以及固定在所述固定杆上从上往下依次设置的初级滤膜、活性炭吸附滤膜和超滤膜,所述罐体下端沿其内壁设有挡板,使得位于最下层的超滤膜搁置在所述挡板上,所述罐体内底部设有U型底盘,所述U型底盘与罐体底部组成封闭空间,所述封闭空间内设有振动器,相邻两个滤膜之间设有激振弹簧,所述振动器通过连接杆连接底部的超滤膜,所述罐体底部设有出料口。


