授权公布号:CN215920585U
一种电蚊香片制造用新型切割装置
有效
申请
2021-09-09
申请公布
1970-01-01
授权
2022-03-01
预估到期
2031-09-09
| 申请号 | CN202122173412.3 |
| 申请日 | 2021-09-09 |
| 授权公布号 | CN215920585U |
| 授权公告日 | 2022-03-01 |
| 分类号 | B26D1/08;B26D7/06;B26D7/18;B26D7/22 |
| 分类 | 手动切割工具;切割;切断; |
| 申请人名称 | 山东洁保生物科技有限公司 |
| 申请人地址 | 山东省东营市垦利区永安镇西纬二路以西 |
专利法律状态
2022-03-01
授权
状态信息
授权
摘要
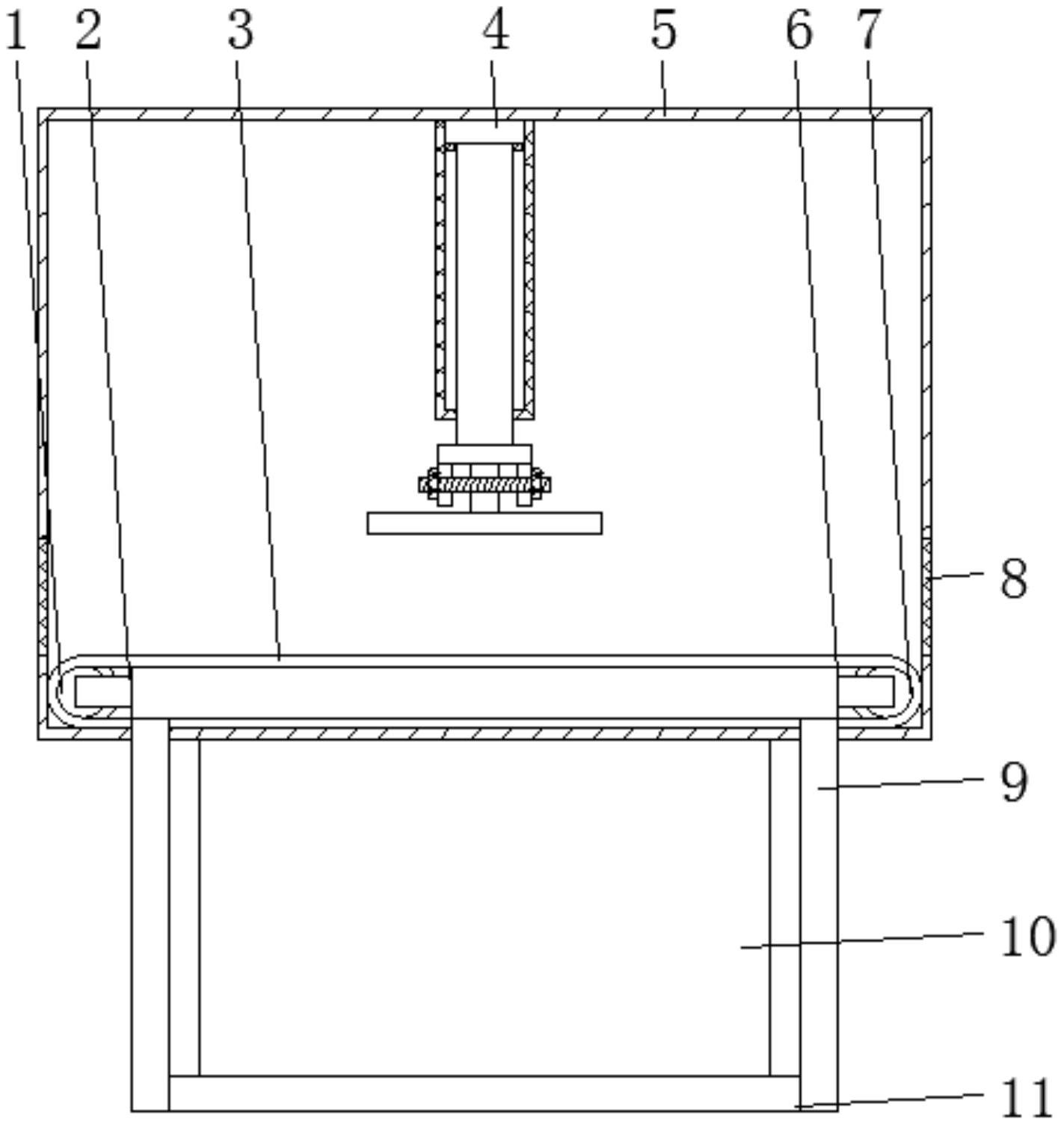
本实用新型公开了一种电蚊香片制造用新型切割装置,包括防护罩、存储箱、内杆、连接杆和切割台本体,所述切割台本体下表面焊接有支撑腿,且支撑腿内部焊接有固定板,所述存储箱焊接在固定板的上表面,所述切割台本体的一侧外端面焊接有固定杆,且固定杆内部转动连接有转动辊,所述切割台本体的一侧外端面焊接有支撑杆,且支撑杆的内部转动连接有支撑辊,所述防护罩套接在切割台本体的外表面,且防护罩的一侧外端面开设有通槽,所述防护罩的内部顶端焊接有外杆,且外杆的内部开设有限位槽,所述内杆的一侧外端面焊接有限位杆,且内杆活动插接在外杆的下表面。本实用新型便于切割蚊香片,且采用密闭设计,可以防止大量蚊香片对工人健康有损。


