授权公布号:CN218898013U
一种渔线轮的摇臂组件
有效
申请
2022-11-23
申请公布
1970-01-01
授权
2023-04-25
预估到期
2032-11-23
| 申请号 | CN202223123930.5 |
| 申请日 | 2022-11-23 |
| 授权公布号 | CN218898013U |
| 授权公告日 | 2023-04-25 |
| 分类号 | A01K89/00 |
| 分类 | 农业;林业;畜牧业;狩猎;诱捕;捕鱼; |
| 申请人名称 | 宁波海伯集团有限公司 |
| 申请人地址 | 浙江省宁波市北仑区嵩山路1299号 |
专利法律状态
2023-04-25
授权
状态信息
授权
摘要
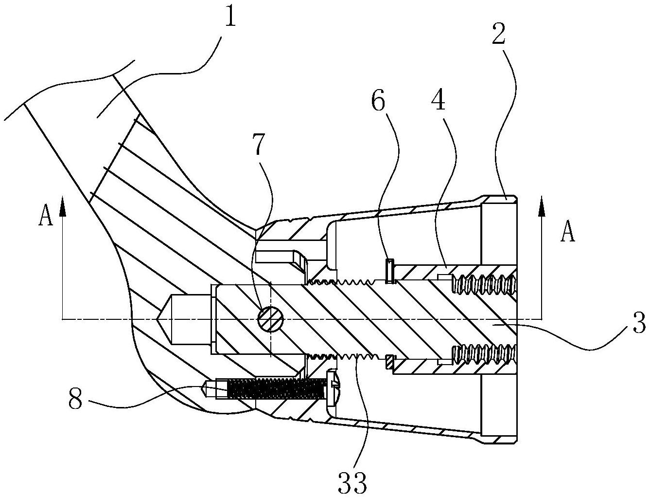
一种渔线轮的摇臂组件,在现有的摇臂、套管和摇臂轴等基础上加以改进,即摇臂在朝向套管的端面上设计有向套管侧延伸的连接轴和位于连接轴旁的螺纹孔,在该连接轴的延伸端面上开有与摇臂轴的一端相匹配而供摇臂轴的一端插入的安装孔,在该安装孔的侧壁上开有与安装孔相连通且径向贯穿连接轴的径向孔,一销轴插入到径向孔和摇臂轴上的轴孔中而将摇臂轴和摇臂相连成一体,同时套管的一端口插入到连接轴上而将该连接轴隐藏于套管内,套管的支撑部上还开有能与螺纹孔相对应的通孔,一防松螺钉穿过通孔后螺纹连接在螺纹孔中。采用上述结构后,能有效地防止外力的意外触及而导致螺钉的转动和销轴的移位,使得组装后的结构更加牢固,不易松动。


