授权公布号:CN207588515U
一种可为浮漂无线充电的充电装置
有效
申请
2017-12-21
申请公布
1970-01-01
授权
2018-07-06
预估到期
2027-12-21
| 申请号 | CN201721809785.2 |
| 申请日 | 2017-12-21 |
| 授权公布号 | CN207588515U |
| 授权公告日 | 2018-07-06 |
| 分类号 | H02J7/00;H02J50/00 |
| 分类 | 发电、变电或配电; |
| 申请人名称 | 湖南省池海浮标钓具有限公司 |
| 申请人地址 | 湖南省岳阳市临湘市桃林镇上坪李家 |
专利法律状态
2019-07-02
专利申请权、专利权的转移
状态信息
专利权的转移;IPC(主分类):H02J7/00;专利号:ZL2017218097852;登记生效日:20190613;变更事项:专利权人;变更前权利人:深圳市众凌汇科技有限公司;变更后权利人:湖南省池海浮标钓具有限公司;变更事项:地址;变更前权利人:518000 广东省深圳市宝安区西乡街道凤凰岗路与水库路交汇处北侧中熙香缤山花园8栋608号;变更后权利人:414314 湖南省岳阳市临湘市桃林镇上坪李家
2018-07-06
实用新型专利权授予
状态信息
授权
摘要
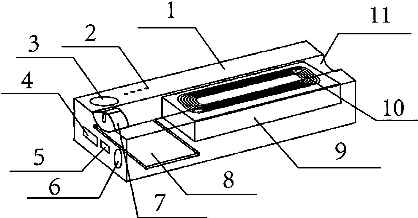
本实用新型涉及一种可为浮漂无线充电的充电装置,该充电装置包括:外壳;外壳内设置有依次连接的可充电电池、内置电路板和磁耦合线圈;外壳表面设置有与内置电路板连接的光源、第一充电接口和开关按钮。本实用新型实施例通过在充电装置中设置可充电电池,并通过磁耦合线圈使充电装置可移动的为电子浮漂无线充电,便于用户在户外直接使用,并在外壳表面设置光源,方便用户夜间垂钓时进行照明,通过第一充电接口为该可充电电池充电,通过开关按钮对充电装置的功能进行切换。


