授权公布号:CN217791198U
便携式太阳能驱蚊器
有效
申请
2022-07-02
申请公布
1970-01-01
授权
2022-11-15
预估到期
2032-07-02
| 申请号 | CN202221709132.8 |
| 申请日 | 2022-07-02 |
| 授权公布号 | CN217791198U |
| 授权公告日 | 2022-11-15 |
| 分类号 | A01M13/00;A01M29/12 |
| 分类 | 农业;林业;畜牧业;狩猎;诱捕;捕鱼; |
| 申请人名称 | 中山市吉力电器制造有限公司 |
| 申请人地址 | 广东省中山市小榄镇小榄工业大道南兴路18号 |
专利法律状态
2022-11-15
授权
状态信息
授权
摘要
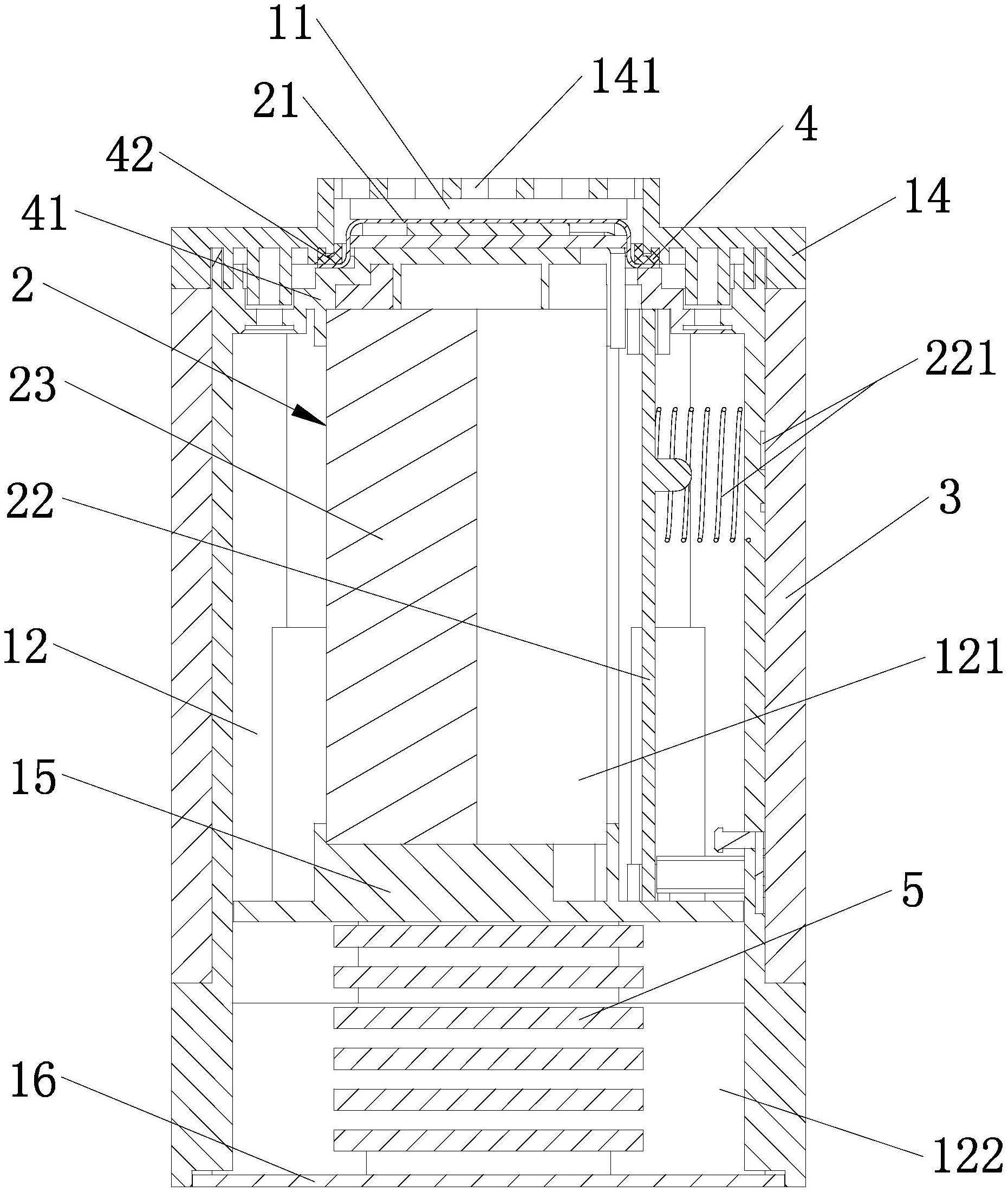
一种便携式太阳能驱蚊器,包括本体、驱蚊片加热结构和太阳能板模块,本体设有驱蚊片加热空间、主容置空间和沿侧周壁布局的侧槽;驱蚊片加热结构包括设在驱蚊片加热空间中的加热板,以及设在主容置空间内的PCB控制板和电池组;在PCB控制板上设有开关、TYPEC充电端口;在本体的驱蚊片加热空间的上端设有盖板,在其上设有气味排出孔和驱蚊片插入孔;在太阳能板模块上设有USB输出端口;太阳能板模块可卷曲或折弯地收藏在侧槽中;太阳能板模块在展开状态时通过带USB端口及TYPEC端口或磁吸PIN针的数据线与PCB控制板上的TYPEC充电端口连接。本实用新型的结构更合理,户外使用的持续性更长和户外驱蚊效果更佳。


