授权公布号:CN216960251U
电感式灭蚊灯电路结构
有效
申请
2022-01-14
申请公布
1970-01-01
授权
2022-07-12
预估到期
2032-01-14
| 申请号 | CN202220107079.8 |
| 申请日 | 2022-01-14 |
| 授权公布号 | CN216960251U |
| 授权公告日 | 2022-07-12 |
| 分类号 | H05B45/30;H05B45/36;H02M3/335;H02M1/44;A01M1/22 |
| 分类 | 其他类目不包含的电技术; |
| 申请人名称 | 中山市吉力电器制造有限公司 |
| 申请人地址 | 广东省中山市小榄镇小榄工业大道南兴路18号 |
专利法律状态
2022-07-12
授权
状态信息
授权
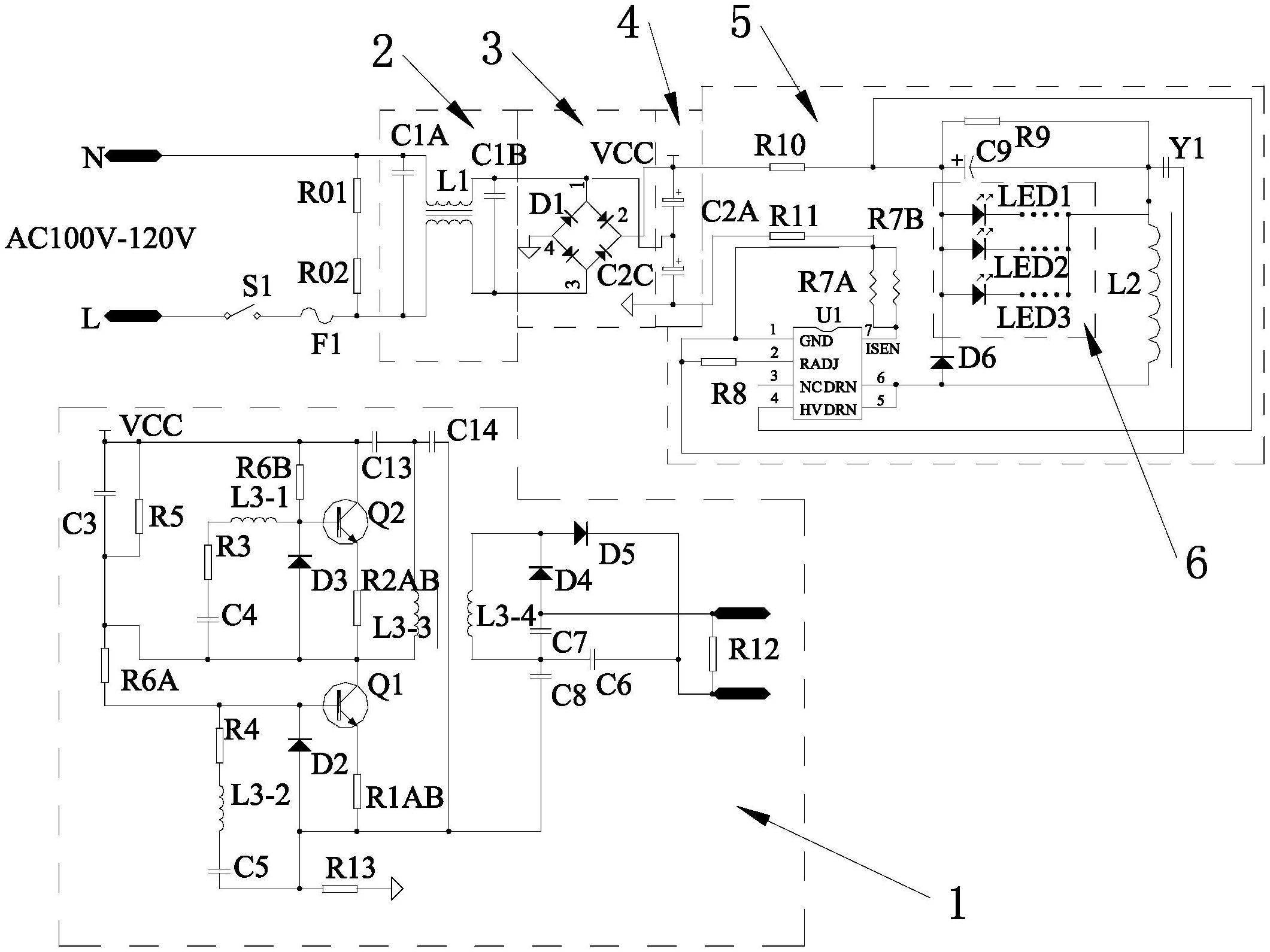
摘要
一种电感式灭蚊灯电路结构,包括设置在一块线路板上的电击灭蚊升压电路,以及依次电连接的EMC电路、整流电路、滤波电路和LED驱动电路;电击灭蚊升压电路并联在滤波电路的输出端;LED驱动电路与设在灯管内的LED发光电路连接;在LED驱动电路的正、负极输入端分别设有电压吸收电阻;在电击灭蚊升压电路的地线上接了高压吸收电阻。这样就可以防止电击灭蚊升压电路在电击时产生的瞬间高压对LED驱动电路的冲击而导致损坏LED灯,因此本实用新型的结构更合理,能提高LED灯管使用寿命;另外,由于将电击灭蚊升压电路和LED驱动电路集成到一块电路板上,这样LED驱动电路就不用装入到专门的驱动外壳内,从而降低灭蚊灯电路结构的生产成本。


