授权公布号:CN212386611U
用于自行车的坐垫
有效
申请
2020-04-27
申请公布
1970-01-01
授权
2021-01-22
预估到期
2030-04-27
| 申请号 | CN202020664598.5 |
| 申请日 | 2020-04-27 |
| 授权公布号 | CN212386611U |
| 授权公告日 | 2021-01-22 |
| 分类号 | B62J1/20;B62J1/00 |
| 分类 | 无轨陆用车辆; |
| 申请人名称 | 东莞市曼哥夫户外用品有限公司 |
| 申请人地址 | 广东省东莞市洪梅镇洪梅大道 |
专利法律状态
2021-01-22
授权
状态信息
授权
摘要
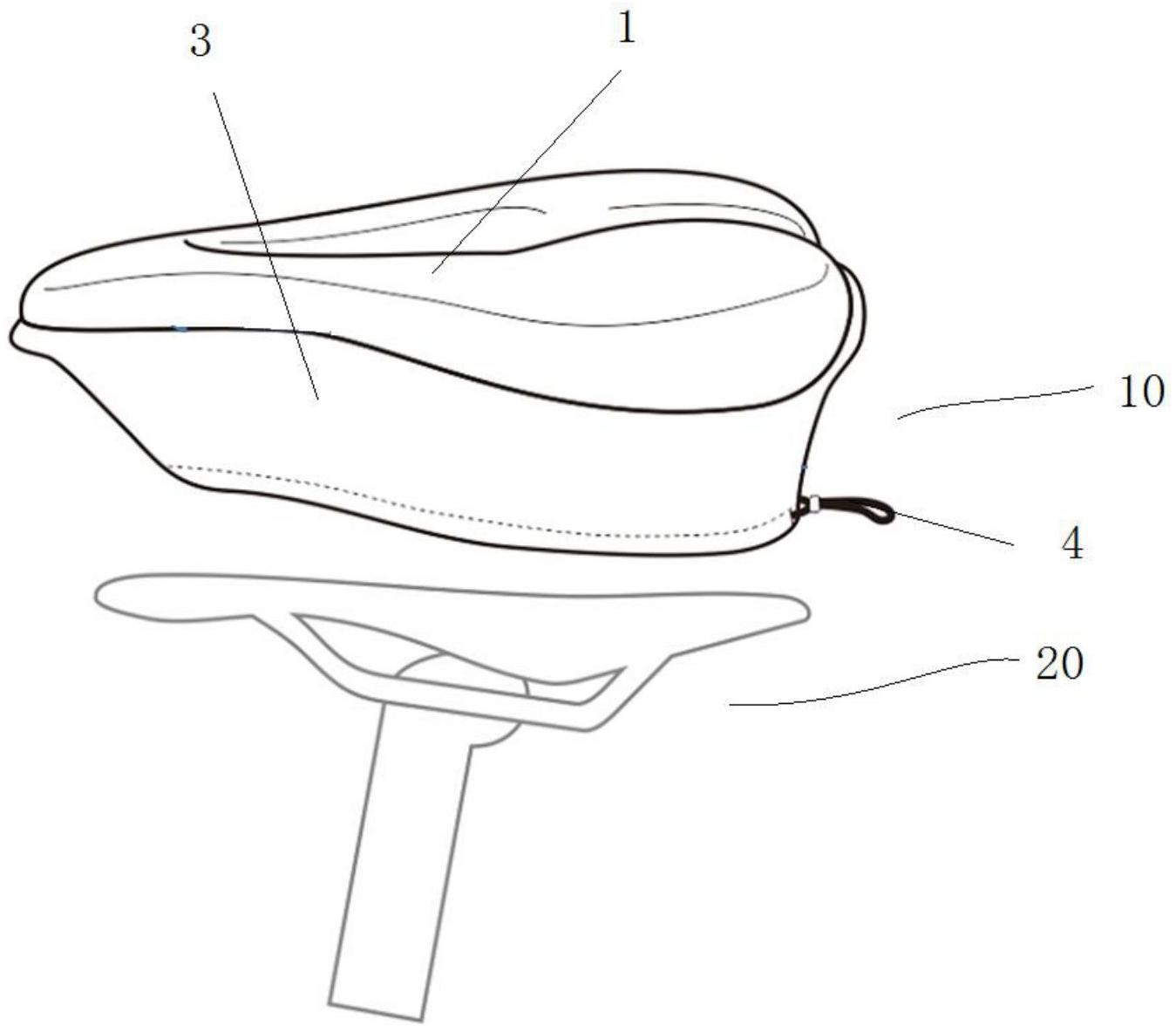
本实用新型提出了一种用于自行车的坐垫,该用于自行车的坐垫包括与自行车的车座的形状匹配的坐垫主体和片状的粘结件,粘结件的第一侧能与坐垫主体的底侧固定连接,而粘结件的第二侧能与自行车的车座的面侧粘结,其通过粘结件将坐垫固定在车座上,用于保证坐垫和车座的稳固结合。


